EasyManua.ls Logo

NATHAN JAMES Telos - Step 2: Main Unit Assembly

NATHAN JAMES Telos
26 pages
Print Icon
To Next Page IconTo Next Page
To Next Page IconTo Next Page
To Previous Page IconTo Previous Page
To Previous Page IconTo Previous Page
Loading...
8
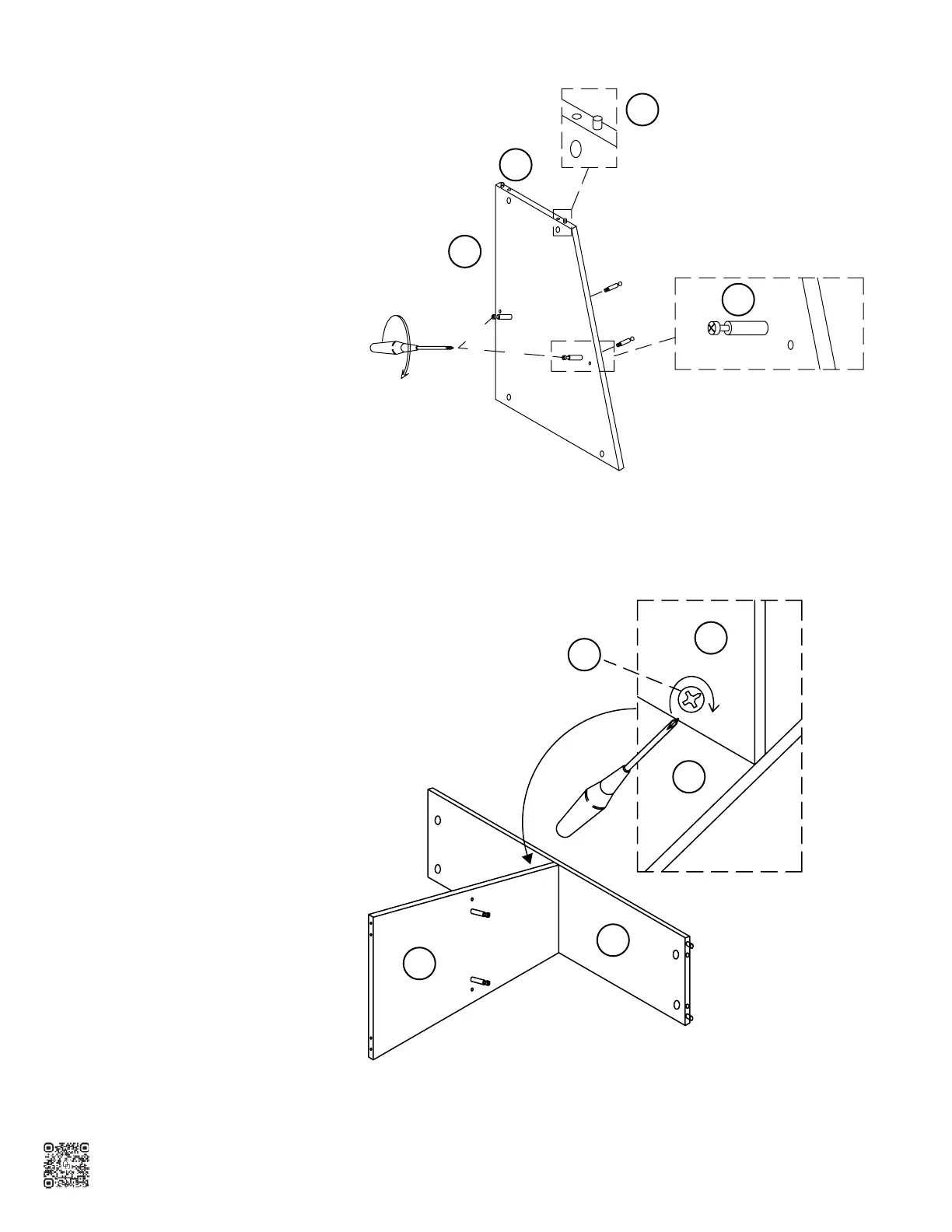
Aaaand, one more time.
Screw on the Cam Lock Bolts
(3) and Wooden Dowels (1) to
the Middle Partition Panel (E).
Step 5
You’re halfway there!
After the Top Panel (A) to
the Middle Partition Panel
(E) with the Cam Locks (5).
Step 6
1
E
3
1
5
E
A
A
E

Related product manuals