EasyManua.ls Logo

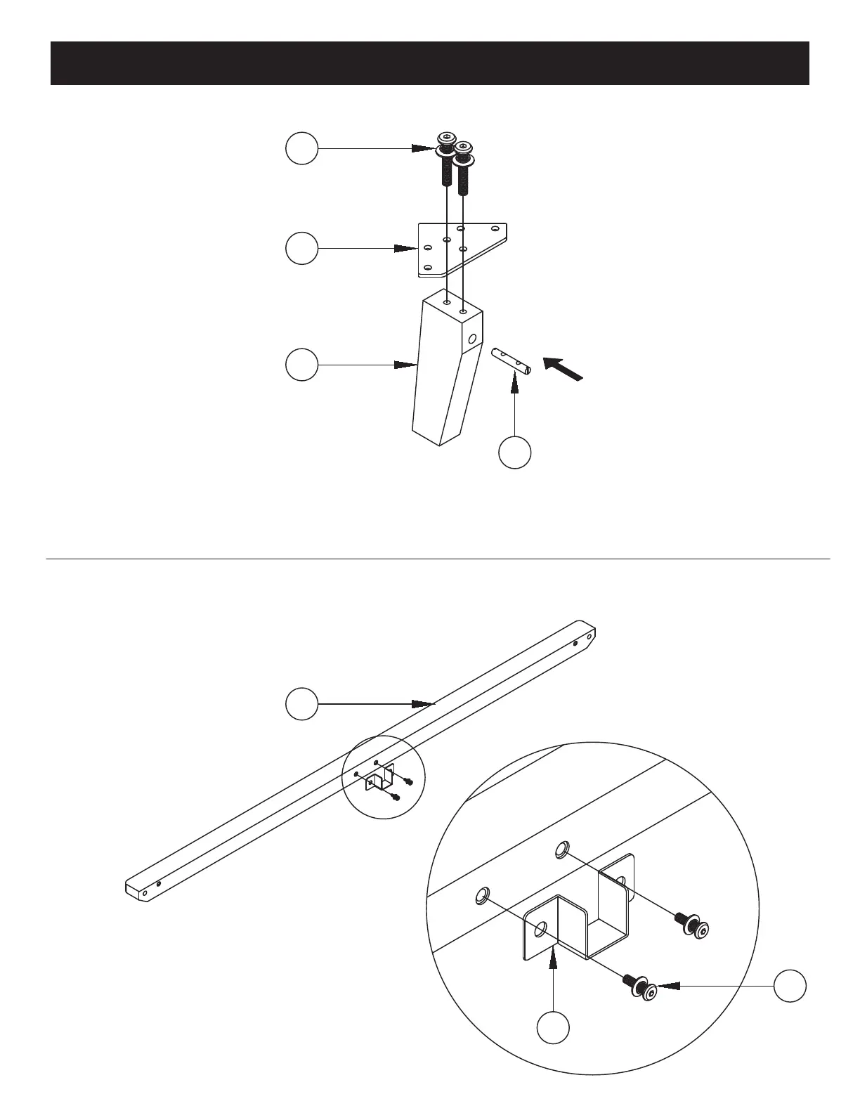
Nectar J09229-0013 - Platform Bed Assembly Instructions; Step 1: Initial Frame Assembly; Step 2: Attaching Side Rails

Default Icon
8 pages
Print Icon
To Next Page IconTo Next Page
To Next Page IconTo Next Page
To Previous Page IconTo Previous Page
To Previous Page IconTo Previous Page
Loading...
ASSEMBLY INSTRUCTIONS
STEP 1
STEP 2
D
J
M
K
A
L
H

Related product manuals