EasyManua.ls Logo

Nelko P21 - Page 4

Nelko P21
14 pages
Print Icon
To Next Page IconTo Next Page
To Next Page IconTo Next Page
To Previous Page IconTo Previous Page
To Previous Page IconTo Previous Page
Loading...
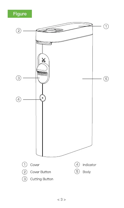
Figure
O Cover
Cover Button
Cutting Button
O
Indicator
Body