EasyManua.ls Logo

Nexus 21 L-85 - Page 11

Nexus 21 L-85
48 pages
Print Icon
To Next Page IconTo Next Page
To Next Page IconTo Next Page
To Previous Page IconTo Previous Page
To Previous Page IconTo Previous Page
Loading...
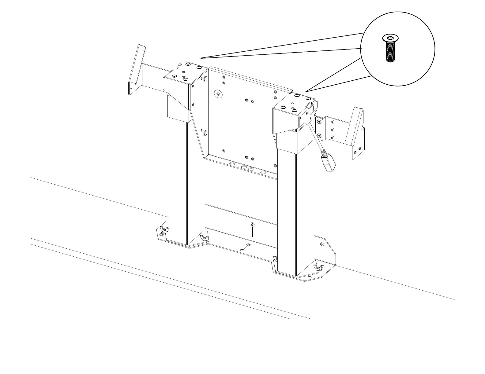
x 8
4. Place the Center Riser on top of the Lower Column Assemblies then attach it using (8) M6 x 20 FHMS.
11

Related product manuals