EasyManua.ls Logo

Noblex 32LC815H - IC003 QTPA6110 A2-P

Noblex 32LC815H
50 pages
Print Icon
To Next Page IconTo Next Page
To Next Page IconTo Next Page
To Previous Page IconTo Previous Page
To Previous Page IconTo Previous Page
Loading...
-11-
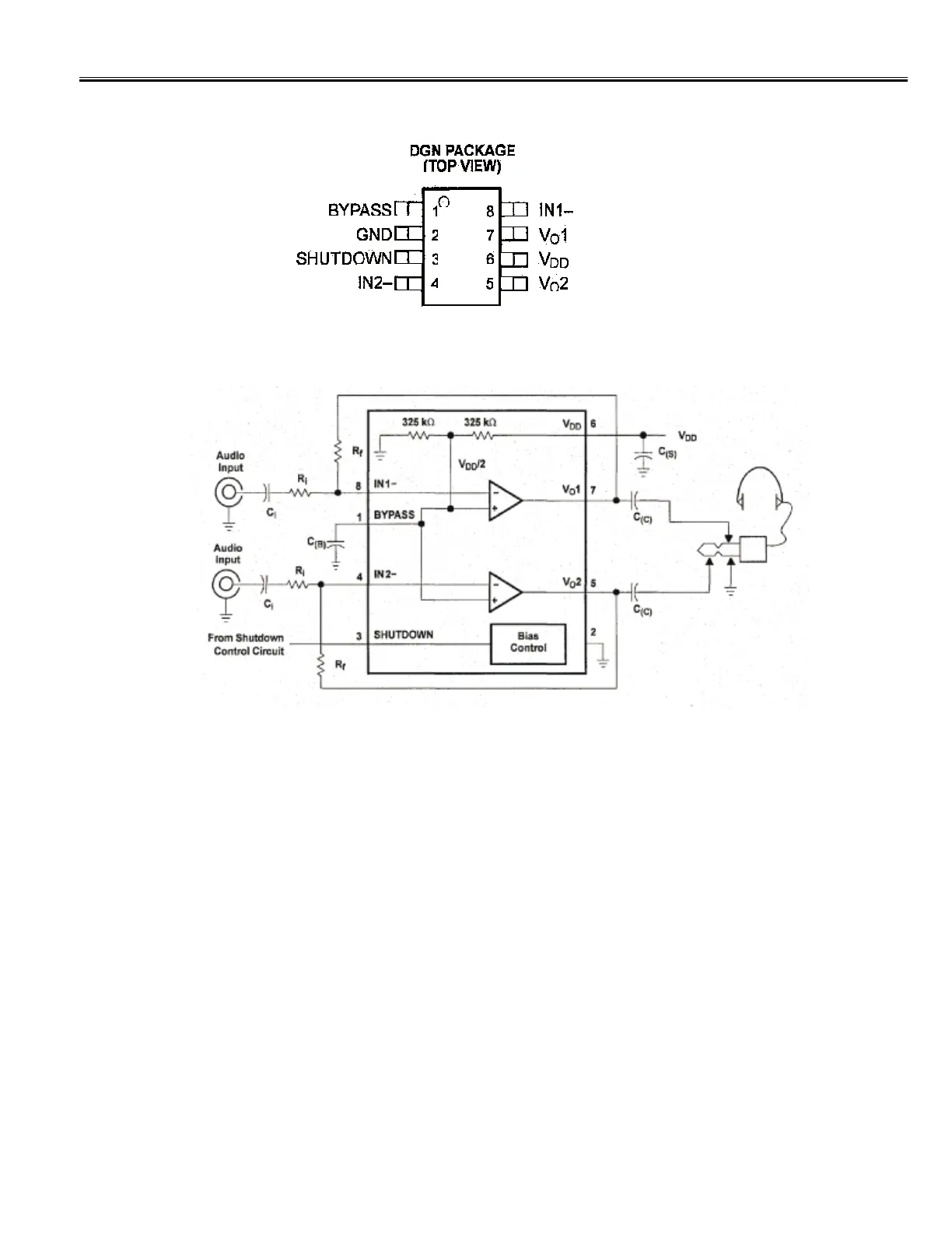
IC003      QTPA6110A2--P
IC Block Diagrams

Related product manuals