EasyManua.ls Logo

NODOR V24B - Page 83

NODOR V24B
Print Icon
To Next Page IconTo Next Page
To Next Page IconTo Next Page
To Previous Page IconTo Previous Page
To Previous Page IconTo Previous Page
Loading...
Подключение к электрической сети
Убедитесь в том, что напряжение электрической сети соот-
ветствует значению, указанному на продукте.
ОПАСНО! Ненадлежащее использование вилки с заземле-
нием может привести к поражению электрическим током.
Если кабель питания поврежден, обратитесь к квалифици-
рованному электрику или в уполномоченный сервисный
центр для выполнения ремонта.
В целях безопасности холодильник следует
заземлить. Вилка кабеля
питания холодильника осна-
щена контактом заземления. Вставьте вилку в стандартную
электрическую розетку с заземлением, чтобы снизить риск
поражения электрическим током.
Ни при каких обстоятельствах не отрезайте и не извлекайте
.яинатип ялебак огомеагалирп иклив зи яин
елмезаз ткатнок
В целях
безопасности холодильник следует правильно заземлить.
Для питания холодильника используется стандартная элек-
трическая розетка 220-240 В переменного тока 50 Гц с за-
землением. Заземление электрической розетки и цепи долж-
но быть проверено квалифицированным электриком. Если
имеется стандартная двухконтактная розетка, ее необходи-
мо заменить правильно
заземленной трехконтактной
электрической розеткой.
Чтобы предотвратить получение травмы, кабель питания
необходимо закрепить за холодильником так, чтобы кабель
не был доступен и не свисал.
Холодильник следует подключать к отдельной электриче-
ской розетке с номинальным напряжением, соответствую-
щим значению на паспортной табличке холодильника.
Это обеспечит максимальную эффективность и предотвра-
тит перегрузку электрической цепи
, которая может привести
к возникновению пожара от перегрева. Никогда не тяните за
кабель, чтобы отсоединить холодильник от электрической
сети. Возьмитесь за вилку и извлеките ее из электрической
розетки. Незамедлительно ремонтируйте или заменяйте из-
ношенные или иным образом поврежденные кабели пита-
ния. Не используйте кабель питания, на котором имеются
трещины или
потертости.
Будьте аккуратны, чтобы не повредить кабель питания при
перемещении холодильника.
Используйте плавкий предохранитель с номиналом не менее
10 А. Если после установки холодильника электрическая ро-
зетка станет недоступна, при установке новой розетки необ-
ходимо обеспечить возможность отключения холодильника
от электрической сети.
Используйте только удлинитель, который прошел проверку
квалифицированным электриком или
специалистом по тех-
ническому обслуживанию. Удлинитель должен быть внесен
в списки VED, иметь три провода, вилку и розетки с зазем-
лением. Удлинитель должен поддерживать напряжение 220-
240 В при токе не менее 10 А.
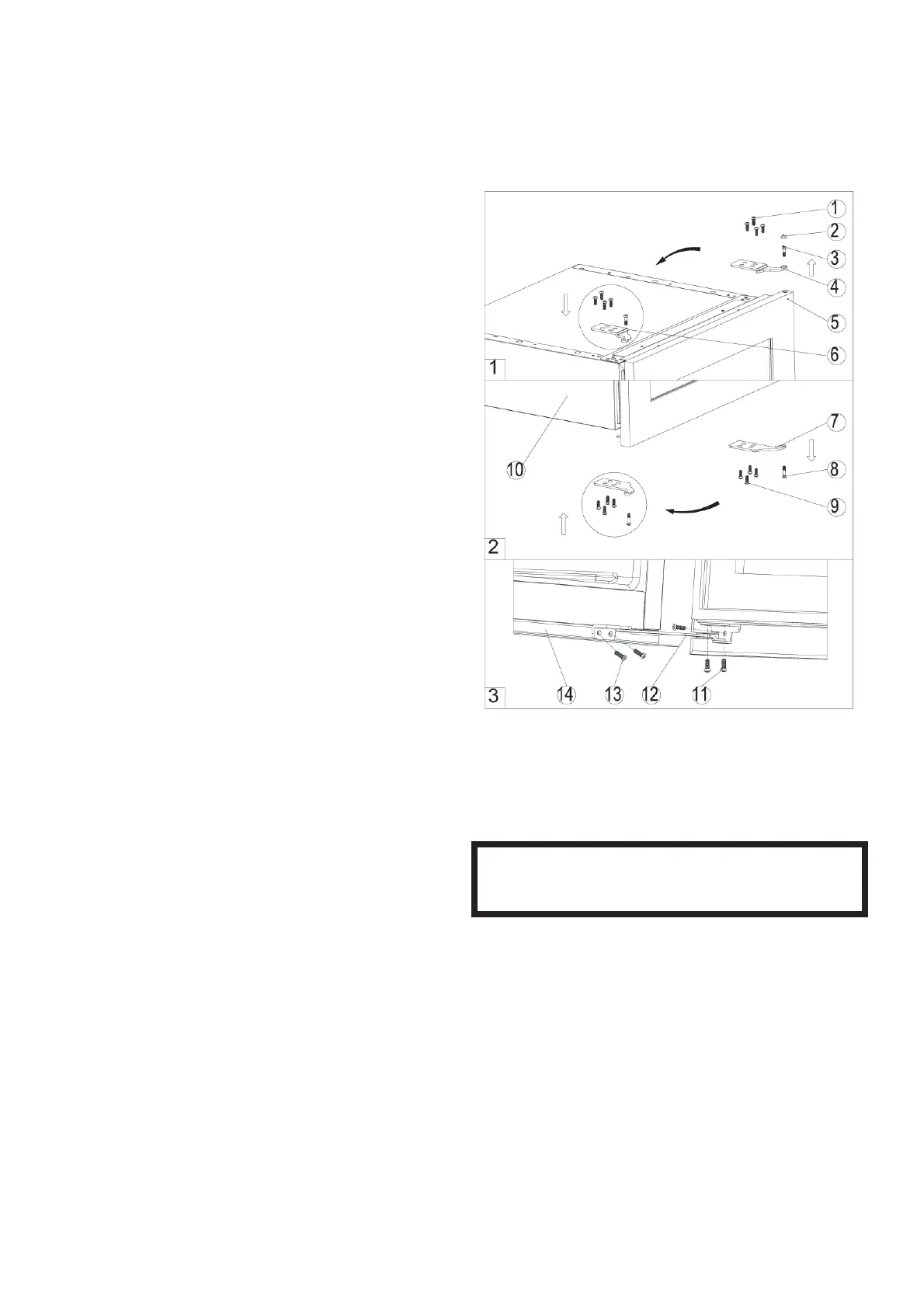
Изменение направления открытия
дверцы
Если требуется изменить направление открытия дверцы,
выполните следующие действия.
Закройте стеклянную дверцу и снимите декоративную 1.
заглушку (2). Выкрутите ось верхней петли (3) и ось ниж-
ней петли (8). Поддерживайте стеклянную дверцу рука-
ми, чтобы он не упала после снятия осей. (Рис 1 и 2)
Снимите стеклянную дверцу и поместите ее на мягкую 2.
поверхность, чтобы не
поцарапать стекло.
Снимите правое крыло верхней петли (4), отвернув 3.
четыре винта (1). Достаньте левое крыло верхней пет-
ли (6) из пакета с инструкцией по эксплуатации, затем
установите пет
лю в предназначенном для нее месте с
противоположной стороны (Рисунок 1).
Снимите крыло нижней петли (7), отвернув четыре 4.
винта (9). Затем переверните петлю и установите ее с
противоположной
стороны (Рисунок 2).
Переверните стеклянную дверцу на 180° и установите 5.
оси (3) и (8) в крыло верхней петли (6) и крыло нижней
петли (7) дверцы. Правильно установите втулки осей
петель.
Винт 1.
Декоративная заглушка2.
Ось верхней петли3.
Правое крыло верхней 4.
петли
Стеклянная дверца5.
Левое крыло верхней 6.
петли
Крыло нижней петли7.
Ось нижней петли8.
Винты9.
Шкаф10.
Примечание. Сохраните все снятые детали для
повторной установки дверцы.

Related product manuals