EasyManua.ls Logo

NORAUTO HF600 - Page 108

NORAUTO HF600
Print Icon
To Next Page IconTo Next Page
To Next Page IconTo Next Page
To Previous Page IconTo Previous Page
To Previous Page IconTo Previous Page
Loading...
107
ИСПОЛЬЗОВАНИЕ
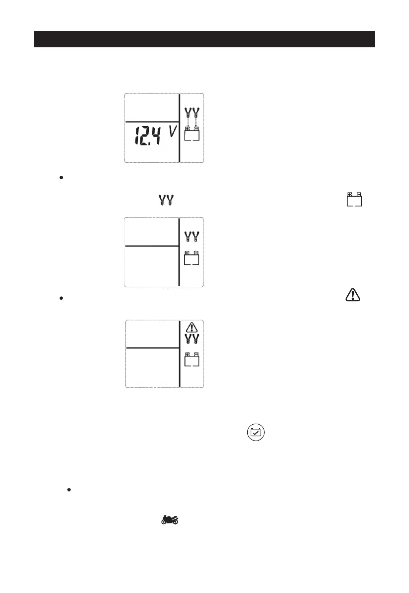
При правильном подключении ЗУ к сети оно автоматически переходит в режим
ожидания, а ЖК-дисплей показывает напряжение зарядки (V). Прибор готов к
использованию.
Примечание:
Если не подключен ни один аккумулятор, или аккумулятор подключен
неправильно (отсутствие контакта между зажимом и коннектором ),
пиктограммы “зажимы” и «состояние аккумулятора» - не заряжен -
будут мигать на дисплее.
Если полярность подключенных зажимов неверна, индикатор полярности
и пиктограммы “+” и “–” внутри аккумулятора будут мигать на дисплее:
В таком случае отключить ЗУ и кабели. Повторить операцию с соблюдением
порядка подключения.и полярности кабелей.
1. Выбрать желаемый режим кнопкой
- Зарядка аккумулятора мопеда
- Зарядка аккумулятора автомобиля
- Тест генератора
- Режим ожидания
Режим мопеда 2 A (однократное нажатие): Это режим для зарядки
аккумуляторов малой емкости. На выходе ЗУ появится максимальный ток
зарядки в 2 A. После включения режима “2,0A” (в верхней части ЖК-дисплея)
и логотип «мотоцикл» будут мигать. В нижней части дисплея будет
показываться зарядное напряжение подключенного аккумулятора. Перед
началом зарядки пиктограммы зажимов, стрелок и аккумулятора будут
в течение 3 секунд показаны на дисплее:
D. Зарядка с помощью зажимов

Table of Contents

Related product manuals