EasyManua.ls Logo

NORAUTO HF600 - Page 69

NORAUTO HF600
Print Icon
To Next Page IconTo Next Page
To Next Page IconTo Next Page
To Previous Page IconTo Previous Page
To Previous Page IconTo Previous Page
Loading...
68
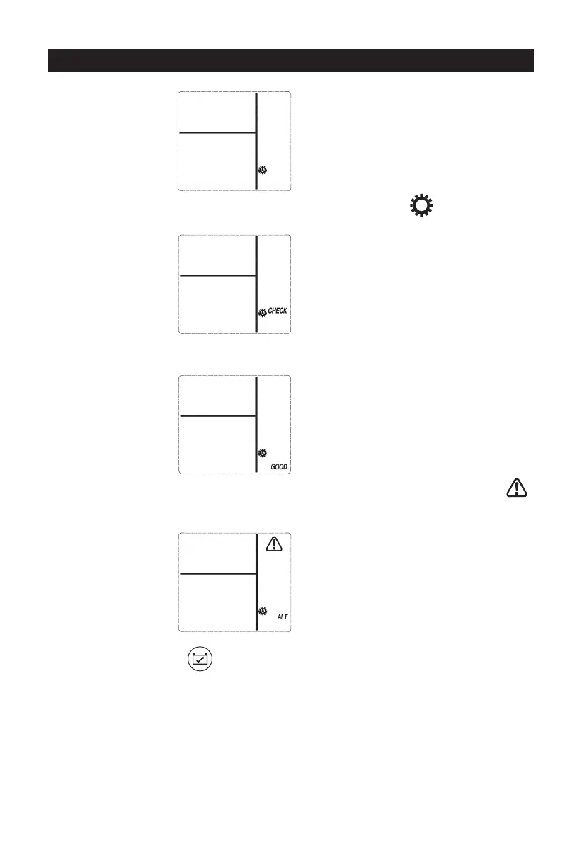
c. Após 3 segundos, a análise do alternador começa. O icone pára e “CHECK”
pisca no ecrã.
d. No final da análise, duas possibilidades:
- Se o alternador está a funcionar correctamente, o indicador “GOOD” aparece no
ecrã.
- Se for detectada uma tensão anormal, o indicador “ALT” e o indicador de erro
aparecem no ecrã. Isto significa qua a tensão enviada pelo alternador não est+a
em conformidade. Neste caso, verifique o alternador num reparador qualificado.
Clique no botão para sair do “teste alternador” e seleccione um outro modo
de operação.
2) Verificação «com consumos»
Este segundo teste permite verificar se o alternador do veículo é capaz de alimentar
correctamente a bateria e os acessórios eléctricos do veículo. Ligue todos os
consumíveis eléctricos do veículo (faróis, escovas, climatização, ventilador...).
Depois efectue a operação como descrita.
A
UTILIZAÇAO

Table of Contents