EasyManua.ls Logo

Norcold DE-251E - Cabinet Assembly; Cabinet Components

Norcold DE-251E
6 pages
Print Icon
To Next Page IconTo Next Page
To Next Page IconTo Next Page
To Previous Page IconTo Previous Page
To Previous Page IconTo Previous Page
Loading...
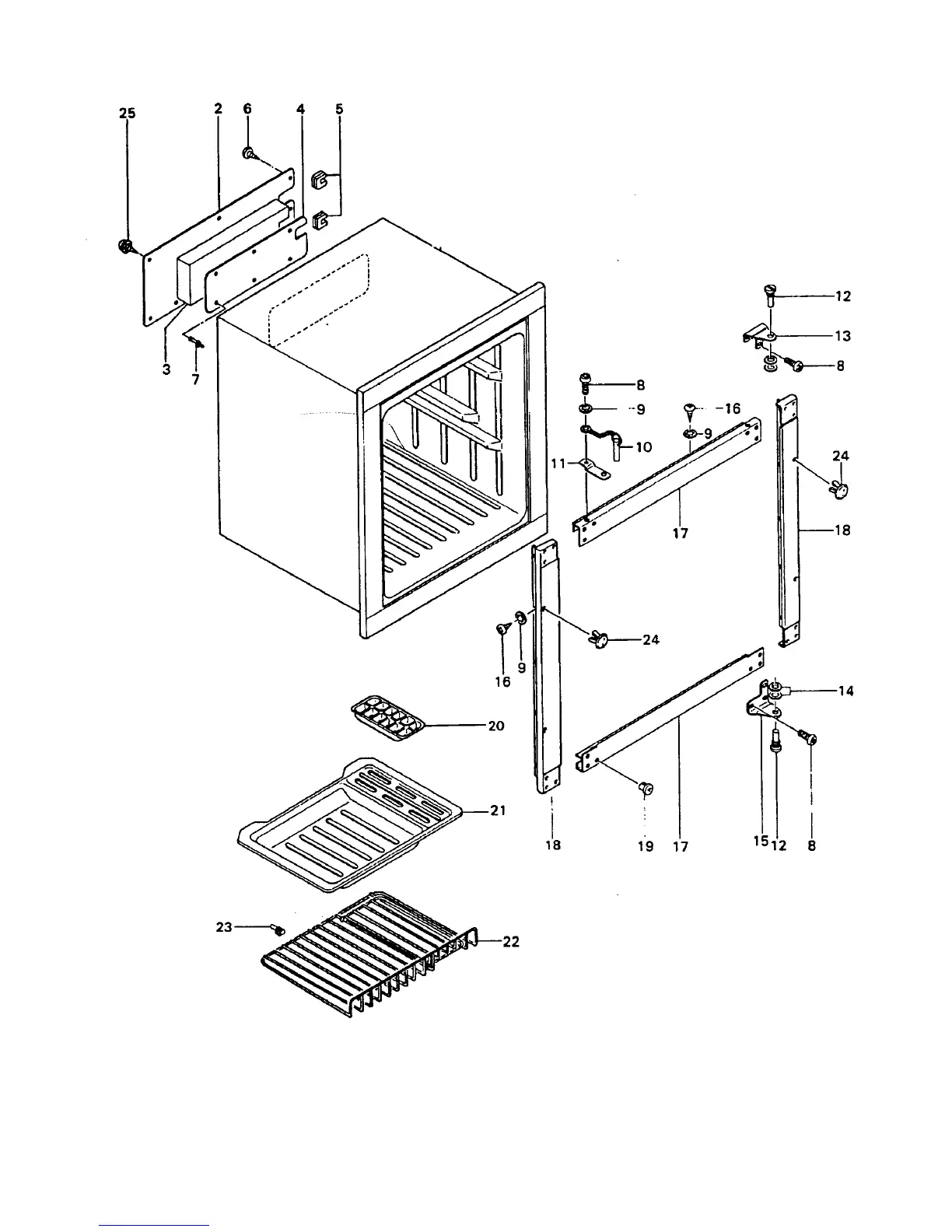
DE251E/EV251E PARTS LIST - PAGE 2
CABINET ASSEMBLY - DE251E/EV251E

Related product manuals