EasyManua.ls Logo

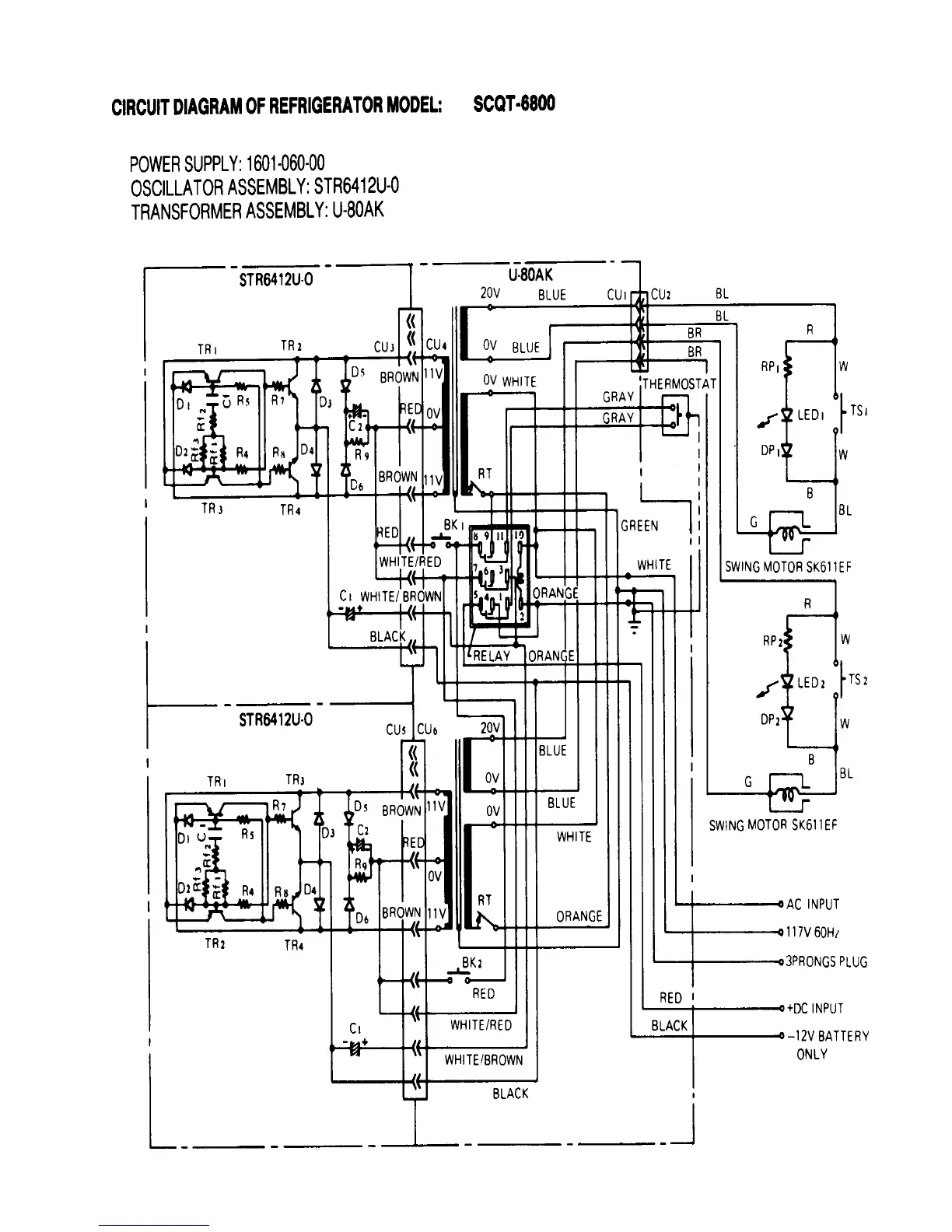
Norcold DE 828 - CIRCUIT DIAGRAM: SCQT-6800; Power Supply, Oscillator, Transformer

Norcold DE 828
29 pages
Print Icon
To Next Page IconTo Next Page
To Next Page IconTo Next Page
To Previous Page IconTo Previous Page
To Previous Page IconTo Previous Page
Loading...
27

Related product manuals