EasyManua.ls Logo

NorthStar 4065 - Assembly Instructions

Default Icon
16 pages
Print Icon
To Next Page IconTo Next Page
To Next Page IconTo Next Page
To Previous Page IconTo Previous Page
To Previous Page IconTo Previous Page
Loading...
5
Assembly Instructions
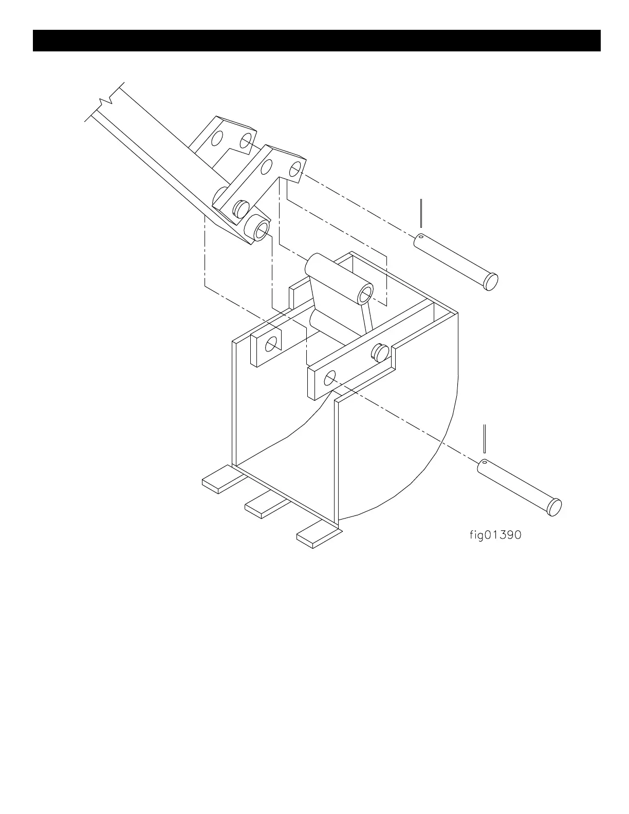
1.) Attach bucket to boom with 1 x 8 pins. Secure 1 x 8 pins with cotter pins.