EasyManua.ls Logo

Numatic CVC370 - Page 41

Numatic CVC370
44 pages
Print Icon
To Next Page IconTo Next Page
To Next Page IconTo Next Page
To Previous Page IconTo Previous Page
To Previous Page IconTo Previous Page
Loading...
Vianetsintä
Kuiva-tilan huolto/vianetsintä
Jos imuri lakkaa toimimasta, sammuta se ja irrota pistotulppa pistorasiasta ennen kuin aloitat ongelman selvittämisen.
Jos imuri ei imuroi roskia puhdistettavalta pinnalta, sammuta kone, irrota pistotulppa pistorasiasta ja tarkista, ettei
lattiatyökalussa, putkissa tai letkussa ole tukoksia. Jos tukosta ei löydy, pölypussi saattaa olla täynnä. Jos pölypussi ei
ole täynnä, suodatin saattaa olla tukkeutunut.
Märkä-tila
Jos imuri lakkaa toimimasta, sammuta se ja irrota pistotulppa pistorasiasta ennen kuin aloitat ongelman selvittämisen.
Jos imurissa on tukos eikä se imuroi nestettä, sammuta kone ja irrota pistotulppa pistorasiasta. Jos uimuri toimii, imu
lakkaa ja imurin moottorin ääni muuttuu.
Irrota pumppu ja tyhjennä neste säiliöstä. Jos säiliö on tyhjä, tarkista, etteivät lattiatyökalun putket tai letku ole
tukkeutuneet.
Huuhtele järjestelmä puhtaalla vedellä käytön jälkeen.
Tarkista kone vaurioiden varalta jokaisen käyttökerran jälkeen.
604016  236013 
604018  604165 TriTex Filter
Replacement parts, Ersazteile, Pièces de rechange recommandées, Aanbevolen reserveonder-

Vaihto-osat
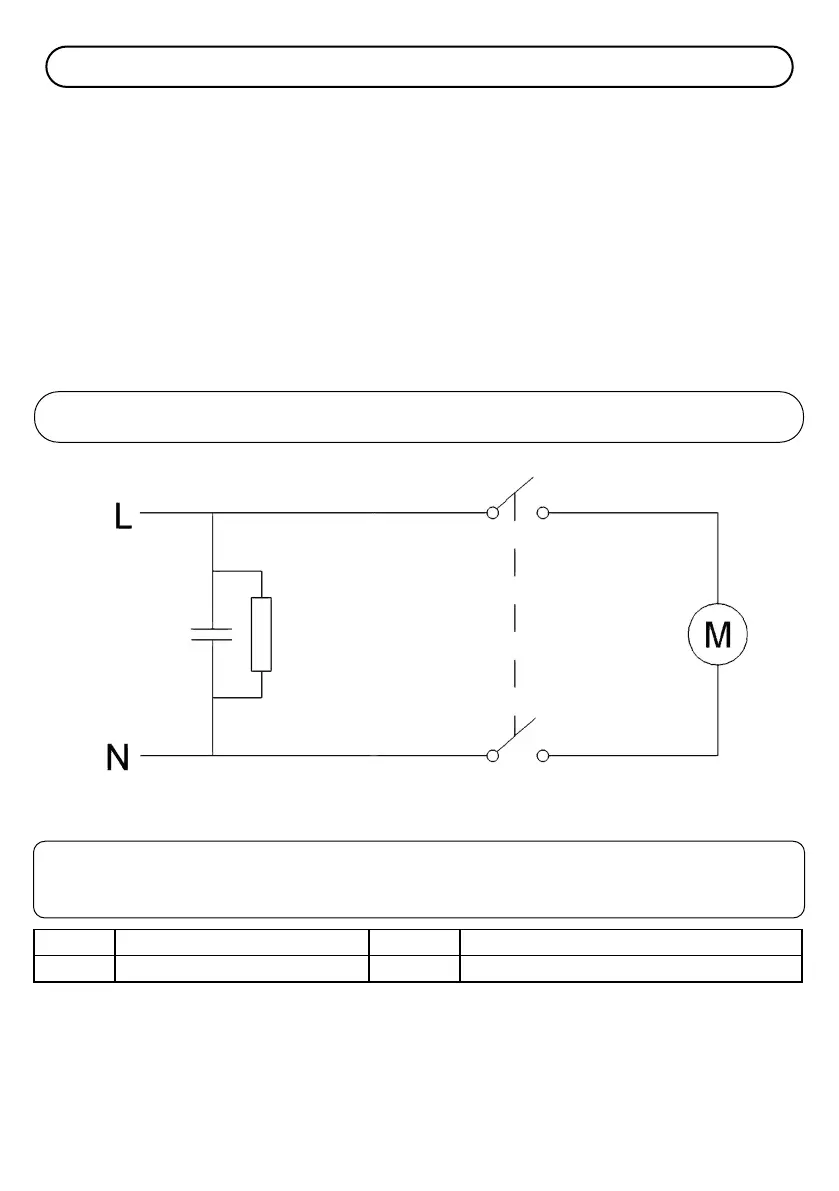
Schematic diagram, Schaltbild, Schéma, Principeschema, Diagrama esquemático, Schema apparecchio,
Diagrama esquemático, Schemat ideowy, Schematiskt diagram, Kytkentäkaavio

Related product manuals