EasyManua.ls Logo

Numatic HENRY - Schematic Diagram; Replacement Parts; Technical Data

Numatic HENRY
12 pages
Print Icon
To Next Page IconTo Next Page
To Next Page IconTo Next Page
To Previous Page IconTo Previous Page
To Previous Page IconTo Previous Page
Loading...
TriTex Filter
909560 TriTex-Filter
HepaFlo Bags
909291 NVM 1CH (Pack of 3)
907076 NVM 1CH (Pack of 5)
907075 NVM 1CH (Pack of 10)
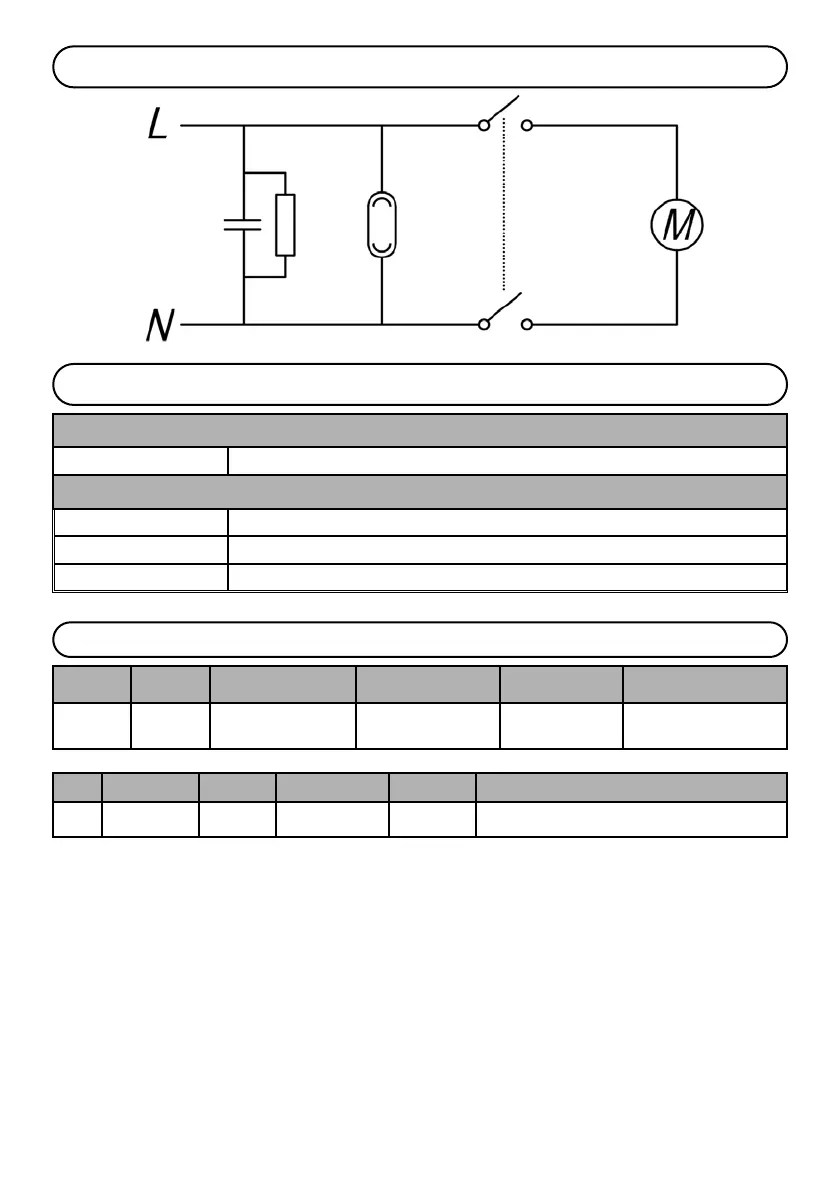
Schematic Diagram
Replacement Parts
1 2 3 4 5 6
6L 26.1 m 7.5 kg LpA ≤ 70 dB(A) Class II 320 mm x 340 mm x 345 mm (W x L x H)
1 2 3 4 5 6
Drum
Size
Cleaning
Range
Weight
(Ready to work)
Sound Pressure Protection Class Dimensions
Data

Related product manuals