EasyManua.ls Logo

NuTone LA305WL - Page 2

NuTone LA305WL
4 pages
Print Icon
To Next Page IconTo Next Page
To Next Page IconTo Next Page
To Previous Page IconTo Previous Page
To Previous Page IconTo Previous Page
Loading...
PLANIFICATION DE L’INSTALLATION
Ce carillon peut accommoder jusqu’à trois (3) entrées. Les boutons de sonnette branchés à la borne « AVANT
» jouent une mélodie à 4 ou 8 notes. Les boutons branchés aux bornes « CÔTÉ » et « ARRIÈRE » jouent des
notes simples. Pour jouer successivement les 4 ou 8 notes d’une mélodie, le carillon doit posséder une source
d’alimentation constante.
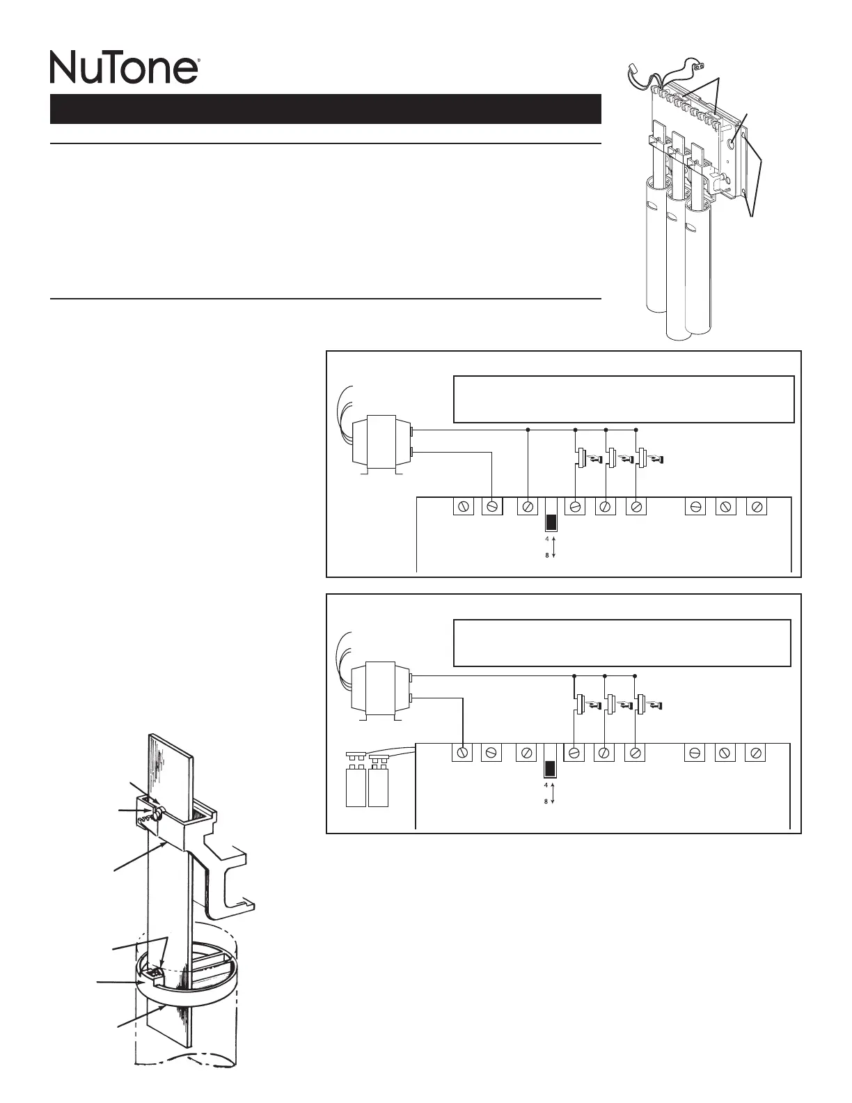
CONSTRUCTIONS NEUVES (Figure 1)
Le transformateur fournit une alimentation constante aux bornes 2 et 3 ainsi qu’aux lumières des boutons de sonnette.
REMPLACEMENT D’UN CARILLON À 2 NOTES (Figure 2)
Deux piles de 9 volts fournissent une alimentation constante au carillon, alors que le transformateur permet
d’illuminer les boutons de sonnette.
INSTALLATION
TOUTES LES CONNEXIONS ÉLECTRIQUES DOIVENT ÊTRE CONFORMES AUX CODES ET RÈGLEMENTS MUNICIPAUX EN VIGUEUR
OU AU CODE NATIONAL DE L’ÉLECTRICITÉ, LE CAS ÉCHÉANT.
COUPEZ LE COURANT AU PANNEAU ÉLECTRIQUE AVANT D’INSTALLER, DE BRANCHER OU DE RÉPARER CE PRODUIT.
1. Tenez le mécanisme du carillon contre le mur et marquez
les quatre (4) trous de fixation.
2. Percez des trous de 4 mm (3/16 po) aux endroits marqués
et enfoncez les chevilles d’ancrage se trouvant dans le sac
de pièces.
3. Enfilez les fils dans le(s) trou(s) d’accès de la plaque arrière
du mécanisme du carillon.
4. Fixez le mécanisme du carillon au mur avec les vis se
trouvant dans le sac de pièces.
5. Serrez fermement les vis.
6. Branchez les fils aux bornes appropriées. Consultez la
figure 1 dans le cas d’une construction neuve ou la figure
2 s’il s’agit de remplacer un carillon à 2 notes. Installez
deux (2) piles alcalines de 9 volts, si cela correspond à
votre application.
7. Rétablissez le courant sur le panneau d’alimentation
électrique. Vérifiez si tous les boutons de sonnette
déclenchent correctement le carillon. (Réglez le
commutateur du circuit imprimé pour obtenir une mélodie
à 4 ou à 8 notes pour la porte avant. Les portes du côté et
de l’arrière auront un carillon à une seule note chacune.)
8. Replacez le couvercle sur le mécanisme du carillon.
NE HUILEZ PAS LES PISTONS PLONGEURS DU CARILLON.
L’huile entraînera leur collage lors du fonctionnement. Si les
pistons plongeurs ne fonctionnent pas librement en raison
d’une accumulation de poussière, de graisse de cuisson, etc.,
nettoyez-les avec un solvant ininflammable qui s’évapore,
laissant la surface sèche.
CARILLON DE PORTE À TROIS NOTES
VEUILLEZ LIRE CES DIRECTIVES ET LES CONSERVER
LOGEMENTS
DES PILES
TROU
D’ACCÈS
DES FILS
TROUS DE
FIXATION
INSTALLATION DES LAMES DE CARILLON (Figure 3)
Les trois (3) lames de carillon doivent pendre librement à l’intérieur des tubes décoratifs afin de
produire et de soutenir la note adéquate. Lorsque les lames de carillon sont bien assemblées
dans le mécanisme, chacune peut bouger légèrement de haut en bas sans remuer les isolateurs.
Si les lames de carillon sont délogées lors du transport, consultez les instructions au-dessous
pour les replacer correctement dans les tubes.
1. L’isolateur supérieur de la lame de carillon doit être complètement appuyé dans l’ouverture en
U du support de lame de carillon.
2. L’isolateur inférieur de la lame de carillon doit être à l’intérieur du support du bouchon supérieur
du tube.
CÂBLAGE RECOMMANDÉ POUR CONSTRUCTION NEUVE
F S R 1 2 3
Volume Control
Boutons illuminés
ou non illuminés
AvantCôté Arrière
Fil de terre
120 VCA
Transformateur
16 VCA
NON UTILISÉ
OU
NOTES
Piles de
9 volts non
utilisées
FACULTATIF : 2 ou 3 carillons peuvent être raccordés à un même transformateur.
Pour 2 carillons, utilisez un transformateur de modèle C909 ou C907. Pour 3
carillons, utilisez un transformateur de modèle C907.
(Figure 1)
REMPLACEMENT D’UN CARILLON À 2 NOTES
F S R 1 2 3
Boutons illuminés
ou non illuminés
9 V9 V
AvantCôté Arrière
Fil de terre
120 VCA
Transformateur
16 VCA
Exige deux
piles de 9 volts
NON UTILISÉ
Volume Control
OU
NOTES
FACULTATIF : 2 ou 3 carillons peuvent être raccordés à un même
transformateur. Pour 2 carillons, utilisez un transformateur de modèle C909 ou
C907. Pour 3 carillons, utilisez un transformateur de modèle C907.
(Figure 2)
ISOLATEUR
SUPÉRIEUR
DE LAME DE
CARILLON
OUVERTURE
EN U
SUPPORT
DE LAME DE
CARILLON
ISOLATEUR
INFÉRIEUR
DE LAME DE
CARILLON
SUPPORT
BOUCHON
SUPÉRIEUR
DU TUBE
UN LÉGER
MOUVEMENT
DE HAUT EN
BAS DOIT ÊTRE
POSSIBLE
(Figure 3)
La
configuration
des tubes
varie selon le
modèle.
Pour enregistrer ce produit, visitez: www.nutone.ca

Related product manuals