EasyManua.ls Logo

OAV P30 - Page 36

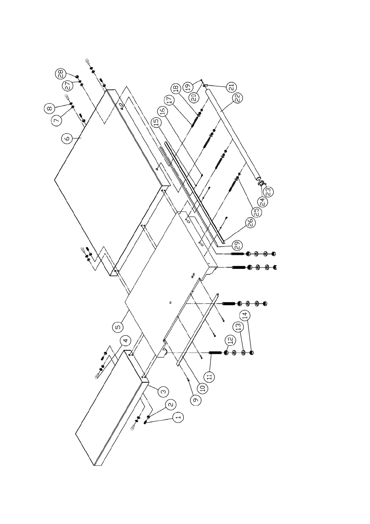
OAV P30
92 pages
Print Icon
To Next Page IconTo Next Page
To Next Page IconTo Next Page
To Previous Page IconTo Previous Page
To Previous Page IconTo Previous Page
Loading...
P30
(optional)
ASSEM01-3.2