EasyManua.ls Logo

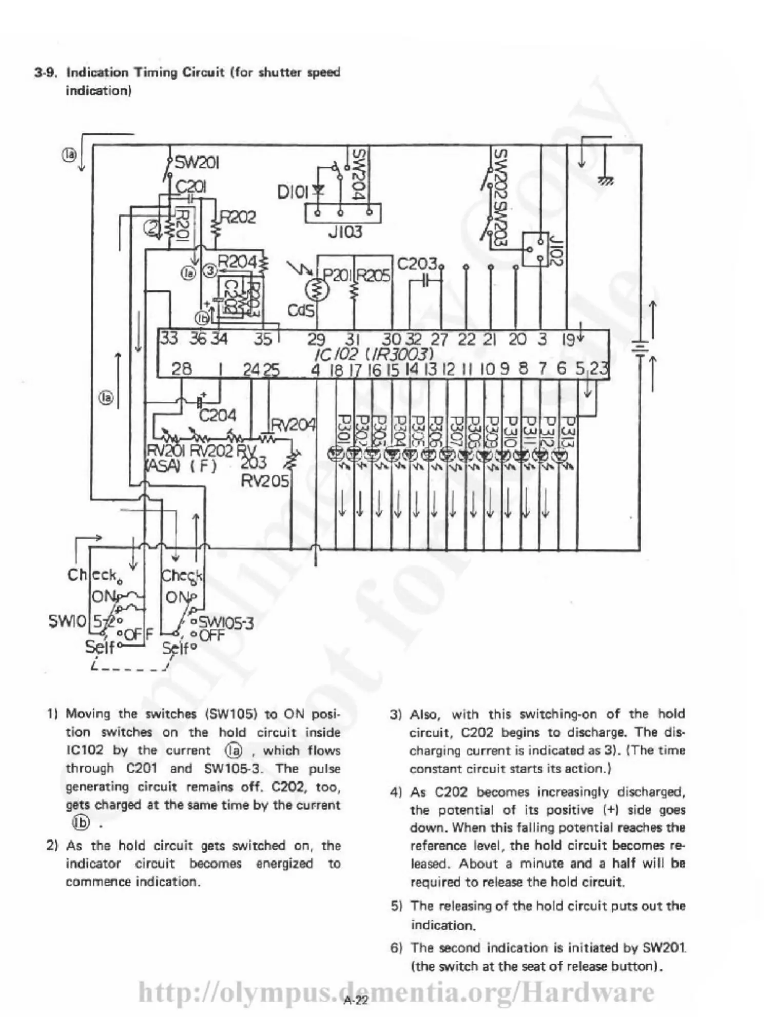
Olympus OM-10 - Indication Timing Circuit

Olympus OM-10
43 pages
Print Icon
To Next Page IconTo Next Page
To Next Page IconTo Next Page
To Previous Page IconTo Previous Page
To Previous Page IconTo Previous Page
Loading...

Other manuals for Olympus OM-10

Related product manuals