EasyManua.ls Logo

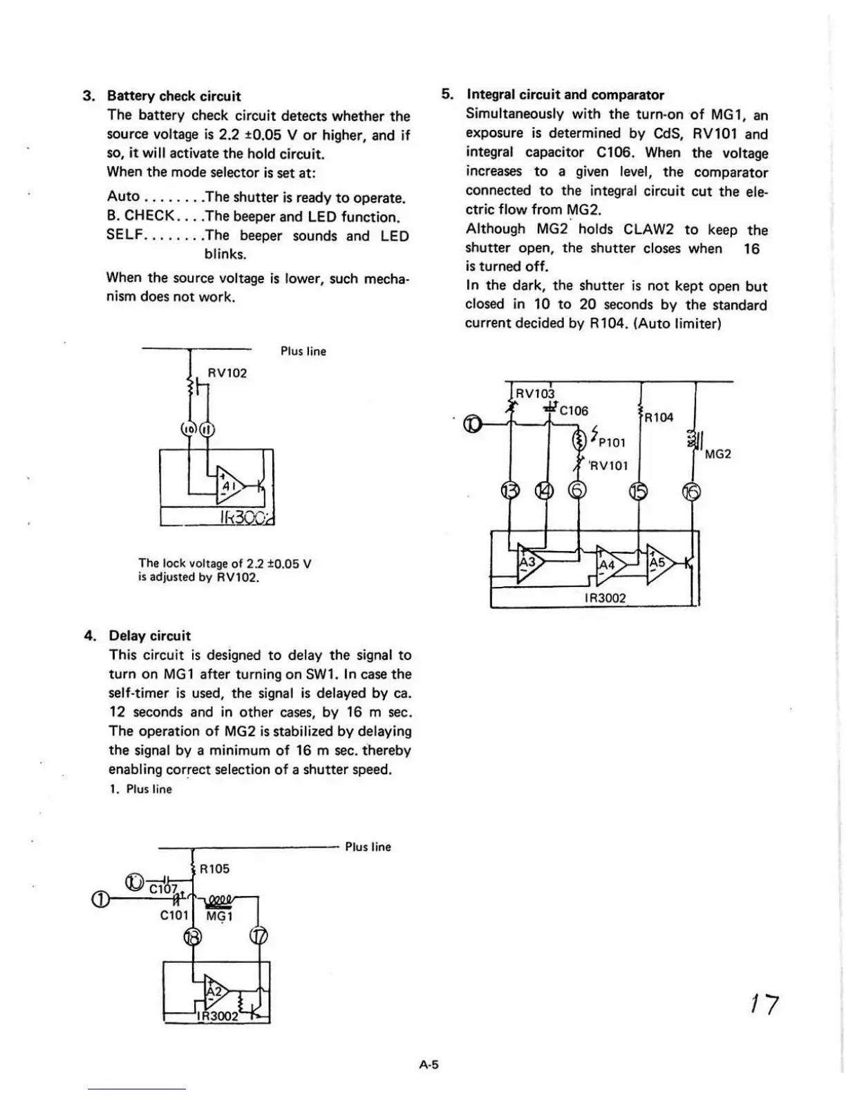
Olympus XA - Battery Check Circuit; Delay Circuit; Integral Circuit and Comparator

Olympus XA
77 pages
Print Icon
To Next Page IconTo Next Page
To Next Page IconTo Next Page
To Previous Page IconTo Previous Page
To Previous Page IconTo Previous Page
Loading...

Table of Contents

Other manuals for Olympus XA

Related product manuals