EasyManua.ls Logo

Omnimount 3N1-PJT - Page 12

Omnimount 3N1-PJT
28 pages
To Next Page IconTo Next Page
To Next Page IconTo Next Page
To Previous Page IconTo Previous Page
To Previous Page IconTo Previous Page
Loading...
P12P12
Optional
EN Not included
ES No se incluye
FR Non inclus
DE Nicht im Lieferumfang enthalten
NL Niet inbegrepen
IT Non incluso
PL Nie należy do zestawu
CZ Není součástí
HU Nem tartalmazza
GK Δεν περιλαμβάνεται
PT Não incluído
DA Ikke vedlagt
FI Ei mukana
SV Ej inkluderad
RO Nu sunt incluse
BL Неевключен
ET Pole komplektis
LV Nav iekļauts
LT Nepridedama
SL Ni priloženo
SK Nie je súčasťou balenia
RU Вкомплектневходит
TR Dahil değildir
NO Ikke inkludert
AR ﻦﻤﻀﻣ ﺮﻴﻏ
CN 未提供
JP 別売り
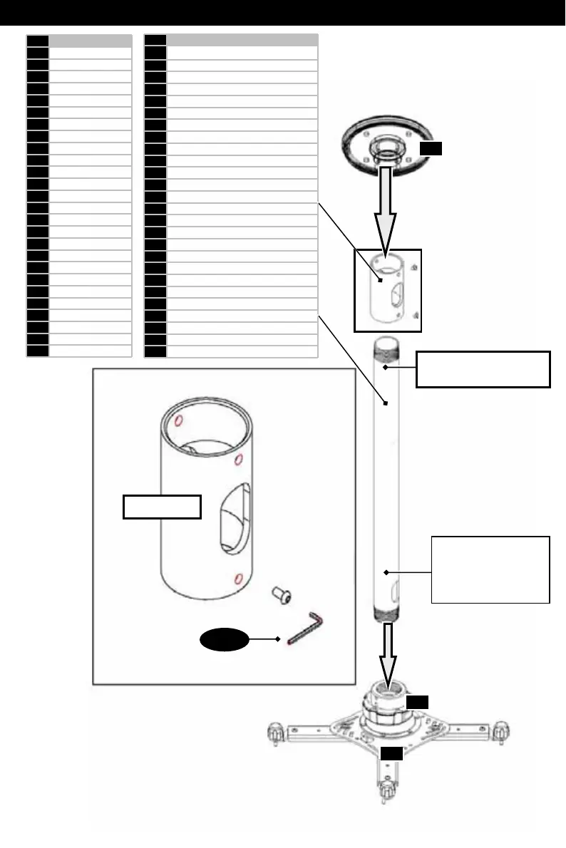
PFC
NPT Pipe
Available Sizes
12”, 18”, 24”
PFC Coupler
EN Optional
ES Opcional
FR Optionnel
DE Optional
NL Optioneel
IT Opzionale
PL Opcjonalne
CZ Volitelné
HU Választható
GK Προαιρετικό
PT Opcional
DA Valgfrit
FI Valinnainen
SV Valfri
RO Opţional
BL Допълнителен
ET Valikuline
LV Pēcizvēles
LT Pasirinktinis
SL Izbirno
SK Voliteľ
RU Дополнительно
TR İsteğeBağlı
NO Valgfritt
AR يرﺎﻴﺘﺧا
CN
JP オプション
P-J
2
3
1