EasyManua.ls Logo

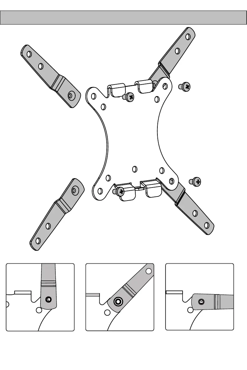
Omnimount OC40F - Step 2 B;C;D: Adapter Installation

Omnimount OC40F
20 pages
Print Icon
To Next Page IconTo Next Page
To Next Page IconTo Next Page
To Previous Page IconTo Previous Page
To Previous Page IconTo Previous Page
Loading...
PN:888-61-026-W-00 RevA
13
STEP 2 B/C/D: > 100mm X 100mm - INSTALL ADAPTERS
B C D
P-B
P-A

Related product manuals