EasyManua.ls Logo

Onespace 50-412ES - Step 7 & 8: Back and Bottom Panel

Onespace 50-412ES
10 pages
Print Icon
To Next Page IconTo Next Page
To Next Page IconTo Next Page
To Previous Page IconTo Previous Page
To Previous Page IconTo Previous Page
Loading...
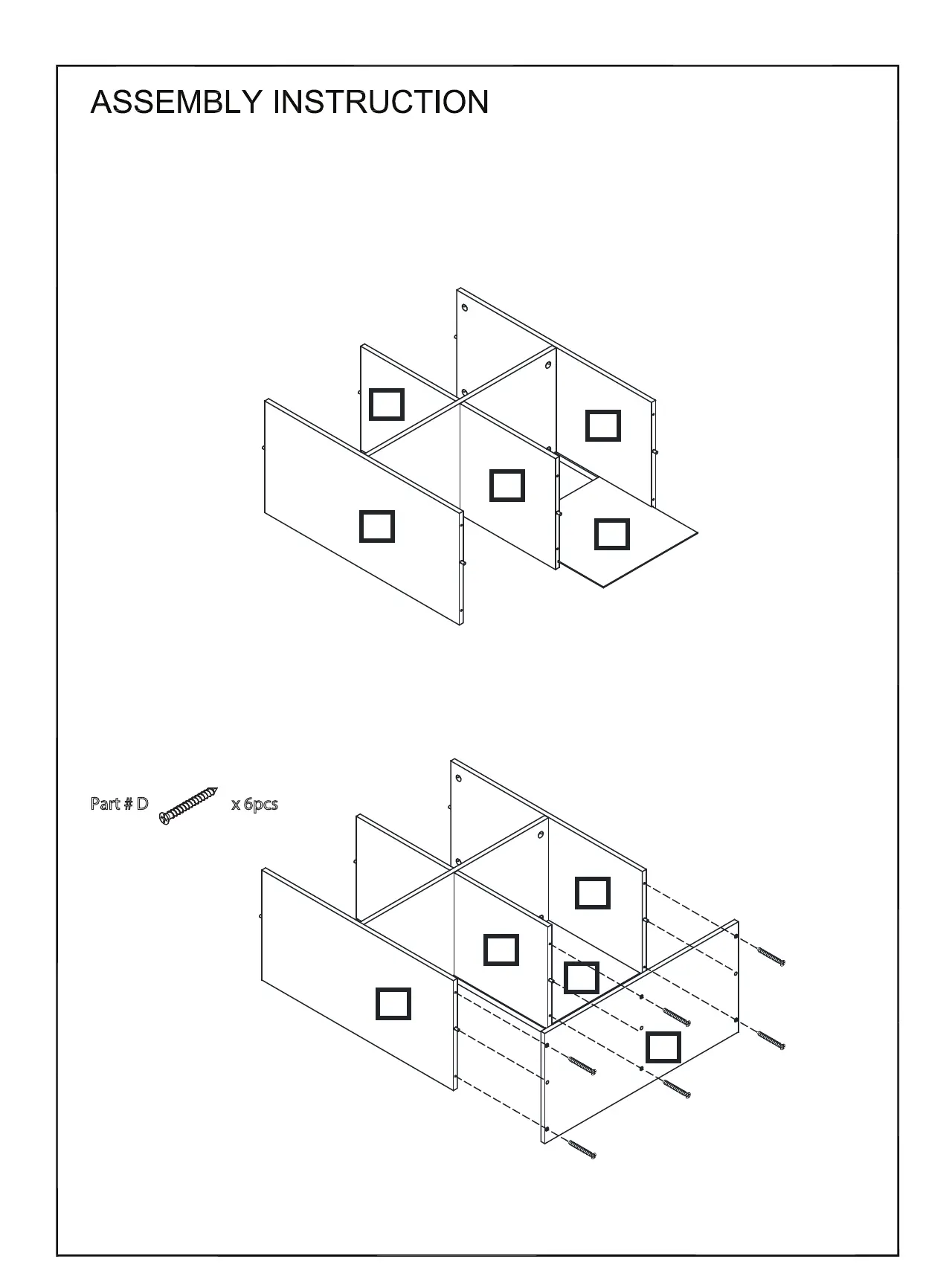
Slide in one Back Panel (8) with the nished side facing inside the cube.
Use six CSK Screws (D) to attach the Bottom Panel (4) to Side Panel Left (1), Side Panel Right (2) and
Center Panel Bottom (7). Make sure that the groove in the Bottom Panel (4) is aligned with the panel
which you have just inserted.
Part # D x 6pcs
8
7
1
2
6
Step 7:
Step 8:
1
2
7
4
7 OF 10
8

Related product manuals