EasyManua.ls Logo

Onkyo SC886 - PR Preamplifier / Processor - Page 30

Onkyo SC886 - PR Preamplifier / Processor
134 pages
Print Icon
To Next Page IconTo Next Page
To Next Page IconTo Next Page
To Previous Page IconTo Previous Page
To Previous Page IconTo Previous Page
Loading...
30
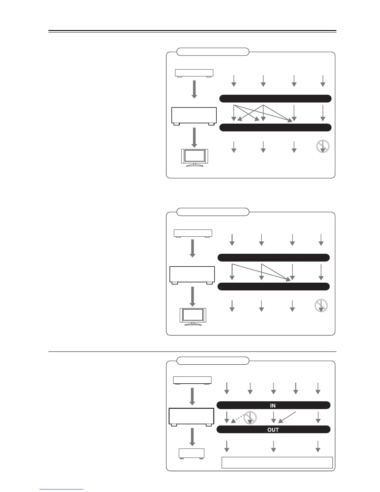
Connecting the AV Controller—Continued
“Monitor Out” Setting Set to
“Analog”
With the “Monitor Out” setting set to “Analog”
(see page 46), video input signals flow through
the AV controller as shown, with composite
video and S-Video sources being upconverted
for the component video output. Use this set-
ting if you connect the AV controller’s
COMPONENT VIDEO MONITOR OUT 1
or 2 to your TV.
Composite video is upconverted to S-Video
and S-Video is downconverted to composite
video. Note that these conversions only apply
to the MONITOR OUT V and S outputs, not
the VCR/DVR OUT V and S outputs.
The composite video, S-Video, and component
video outputs pass through their respective
input signals as they are.
This signal flow also applies when the Monitor
Out “Resolution” setting is set to “Through”
(see page 49).
Video Signal Flow and the
Resolution
Setting
When the “Monitor Out” setting is set to “Ana-
log” (see page 46), if the Monitor Out “Reso-
lution” setting is set to anything other than
“Through” (see page 49), the video signal flow
will be as shown here, with composite video
and S-Video sources being upconverted for the
component video output.
The composite video, S-Video, and component
video outputs pass through their respective
analog input signals as they are. HDMI input
signals are not output.
Audio Connection Formats
Audio equipment can be connected to the AV
controller by using any of the following audio
connection formats: analog, optical, coaxial,
analog multichannel, or HDMI.
When choosing a connection format, bear in
mind that the AV controller does not convert
digital input signals for analog line outputs and
vice versa. For example, audio signals con-
nected to an optical or coaxial digital input are
not output by the analog TAPE OUT.
IN
MONITOR OUT
DVD player, etc.
AV controller
TV, projector, etc.
Composite S-Video Component
Video Signal Flow Chart
HDMI
Composite S-Video Component
HDMI
IN
MONITOR OUT
DVD player, etc.
AV controller
TV, projector, etc.
Composite S-Video Component
Video Signal Flow Chart
HDMIComposite S-Video Component
HDMI
*
1
*
2
DVD player, etc.
AV controller
MD recorder, etc.
Optical
Optical
CoaxialMultichannel
Analog
Analog
Audio Signal Flow Chart
HDMI
HDMI
*1 Depends on the “Audio TV Output” setting (see
page 111).

Table of Contents

Related product manuals