EasyManua.ls Logo

Opel 1973 - Page 61

Opel 1973
68 pages
Print Icon
To Next Page IconTo Next Page
To Next Page IconTo Next Page
To Previous Page IconTo Previous Page
To Previous Page IconTo Previous Page
Loading...
EMISSION CONTROL SYSTEMS
6F- 61
I
1.
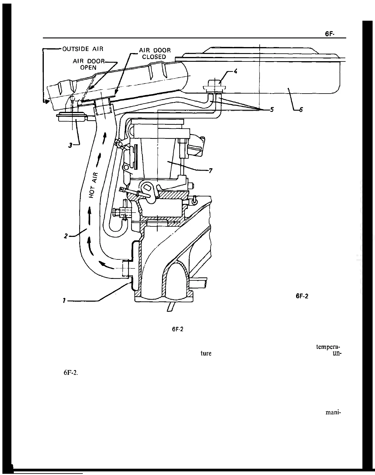
HEAT STOVE
2.
CONNECTING HOSE.
3.
VACUUM DIAPHRAGM
4.
VALVE (El-METAL SPRING)
5.
VACUUM HOSES
6.
AIR CLEANER HOUSING
7.
CARBURETOR
BF-2
Figure 6F-2 Heated Air System
the lower edge of the stove passes across the manifold
surface, picking up heat. The heated air is drawn out
from the upper end of the manifold, through the
heated air pipe into the snorkel of the air cleaner. See
Figure
6F-2.
The temperature control air cleaner is designed to
mix this heated air with cold air from under the hood
so that carburetor inlet air temperature averages
about 115 degrees. This mixing is done by an air door
located in the air cleaner snorkel. Most of the time,
the door will be partially open, as required, to control
the temperature. When the underhood temperature
reaches about 135 degrees, the door will close tight,
not allowing any more warm air from the mainifold
to enter the snorkel of the air cleaner. Obviously, if
underhood temperatures rise above 135 degrees, the
air cleaner will no longer be able to control tempera-
ture and the inlet air temperature will rise with
un-
derhood temperature.
The temperature door is moved by a diaphragm type
vacuum motor. When there is no vacuum present in
the motor, the diaphragm spring forces the door
closed. Whenever the engine is running, the amount
of vacuum present in the vacuum motor depends on
the temperature sensor in the air cleaner which is
located in the vacuum line between the intake mani-
fold and the vacuum motor. In the sensor, a bi-metal
temperature sensing spring starts to open a valve to
bleed more air into the vacuum line whenever the
temperature in the air cleaner rises above about 115
degrees. Whenever the temperature falls below about
115 degrees, the sensing spring starts to close the air
cardiagn.com

Related product manuals