EasyManua.ls Logo

Orbis ORUS - Fortgeschrittene Programmierung

Orbis ORUS
Print Icon
To Next Page IconTo Next Page
To Next Page IconTo Next Page
To Previous Page IconTo Previous Page
To Previous Page IconTo Previous Page
Loading...
- 18 -
Manual - ORUS
FORTGESCHRITTENE PROGRAMMIERUNG
Mit der fortgeschrittenen Programmierung erhält man Zugang zu folgenden
Betriebsparametern:
– Regelungsart
– Parameter für die Einstellungsart
– Frostschutztemperatur
– Messeinheit der Temperatur
– Präsenz des externen Sensors
Wahl des Sensors der Einstellung
– Passwort für Tastensperre
– Betriebsstunden des Geräts
– Ladezustand der Batterie
Die fortgeschrittene Programmierung
wird aufgerufen indem man Taste “PRG”
länger als 3 Sekunden drückt.
Der zu ändernde Parameter blinkt,
mit
und kann der Wert
geändert werden und mit
die
Einstellung bestätigen und zum nächsten
Parameter übergehen. Wenn der letzte
Parameter bestätigt ist, das Menü
verlassen und das Uhrenthermostat
nimmt den vorher konfigurierten Betrieb
wieder auf.
Einstellungsart
(nur für Winterbetrieb)
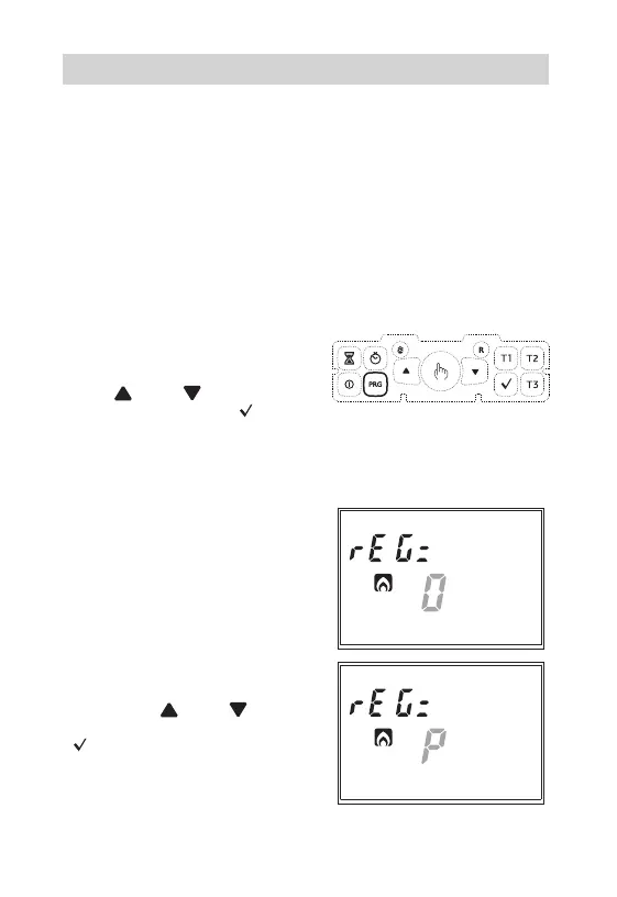
Im Feld (22) erscheint “rEG=” und
im Feld (16) blinkt der Buchstabe “0”
(Programmierung ON-OFF) oder “P”
(proportionale Programmierung).
Mit den Tasten
und die
gewünschte Einstellungsart wählen und
zum Bestätigen drücken und zur
Einstellung des nächsten Parameters
übergehen.

Table of Contents

Related product manuals