EasyManua.ls Logo

Oster TSSTTVFDMAFNS - Page 11

Oster TSSTTVFDMAFNS
Print Icon
To Next Page IconTo Next Page
To Next Page IconTo Next Page
To Previous Page IconTo Previous Page
To Previous Page IconTo Previous Page
Loading...
Español - 10
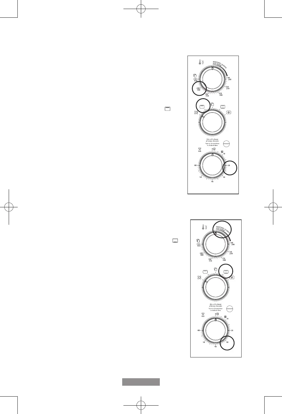
Uso de la Función de Asar (Ver la Fig. 8)
La función ajustable de asar permite al horno asar a cualquier
temperatura. Fabuloso para derretir queso a 150º F o cocinar
pescado a 400º F. Ajuste según sea necesario.
Paso 1. Coloque la comida en la rejilla para asar o en una
bandeja de hornear si es necesario. Consulte
las secciones de “Posicionamiento de la rejilla” y
“Posicionamiento de la Bandeja”.
Paso 2. Cierre las puertas de vidrio.
Paso 3. Gire la perilla de funciones al función de asar “ “.
Paso 4. Gire la perilla de control de la temperatura hasta la
posición de la temperatura deseada.
Paso 5. Gire la perilla del reloj programador hasta el tiempo de
cocción deseado. NOTA: Si el tiempo de cocción es
menor a 20 min, debe girar el relojprogramador más
allá de la marca de 20 min y luego retroceder hasta el
tiempo deseado.
Paso 6. Cuando termine de asar, abra por completo las puertas
del horno y retire los alimentos.
ADVERTENCIA: Los alimentos cocidos y la rejilla de metal
pueden estar muy calientes, manipule con cuidado. No deje el
horno para mostrador sin supervisión.
Figura 8
Uso de la Función de Calentar (Ver la Fig. 9)
Paso 1. Coloque una bandeja para horneado con alimento en la
rejilla de alambre.
Paso 2. Cierre completamente las puertas de vidrio.
Paso 3. Gire la perilla de funciones al función de hornear “ “.
Paso 4. Gire el control de temperatura pasando la posición
“Mantener Caliente”.
Paso 5. Gire la perilla del reloj programador hasta el tiempo de
calentamiento deseado. NOTA: Si el tiempo de cocción
es menor a 20 min, debe girar el relojprogramador más
allá de la marca de 20 min y luego retroceder hasta el
tiempo deseado.
Paso 6. Cuando termine de calentar, abra por completo las
puertas del horno y retire los alimentos.
ADVERTENCIA: Los alimentos cocidos y la rejilla de metal
pueden estar muy calientes, manipule con cuidado. No deje el
horno para mostrador sin supervisión.
Figura 9
TSSTTVFDMAFNS_22SEM1 (LA).indd 10TSSTTVFDMAFNS_22SEM1 (LA).indd 10 2022/5/13 上午11:382022/5/13 上午11:38

Related product manuals