EasyManua.ls Logo

OVE BAILEY 60 - Shelf Installation; Removing Shelf Supports; Installing Shelf Supports

OVE BAILEY 60
9 pages
Print Icon
To Next Page IconTo Next Page
To Next Page IconTo Next Page
To Previous Page IconTo Previous Page
To Previous Page IconTo Previous Page
Loading...
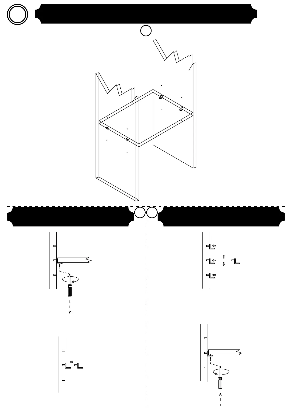
PAGE 7
#1
SHELF
TABLETTE
ESTANTE
A
B C
REMOVE
RETIRER
RETIRAR
INSTALL
INSTALLER
INSTALAR
1
2
1
2

Related product manuals