EasyManua.ls Logo

Paccar PX 8 - Engine Overheating

Paccar PX 8
94 pages
Print Icon
To Next Page IconTo Next Page
To Next Page IconTo Next Page
To Previous Page IconTo Previous Page
To Previous Page IconTo Previous Page
Loading...
Operating Instructions
PACCAR Y53-1030A 12/09 – 21 –
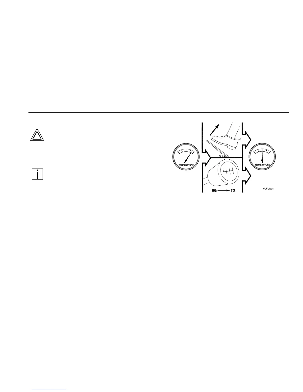
Engine Overheating
CAUTION: The cooling system may overheat if
the engine coolant is the minimum level. A sud-
den loss of coolant, caused by a split hose or
broken hose clamp could also lead to an over-
heat condition. Always inspect to ensure hoses
and clamps are not cracked, worn or loose.
NOTE: The system may also temporarily overheat
during severe operations conditions such as:
Climbing a hill on a hot day.
Stopping after high–speed driving.
If an overheating condition starts to occur, reduce the power
output of the engine by releasing the accelerator pedal or
shifting the transmission to a lower gear, or both, until the
temperature returns to the normal operating range. If the
engine temperature does not return to normal, shut off the
engine, and refer to Troubleshooting Symptoms, or contact a
PACCAR Authorized Repair Location.

Table of Contents