EasyManua.ls Logo

Paccar PX 8 - Page 38

Paccar PX 8
94 pages
Print Icon
To Next Page IconTo Next Page
To Next Page IconTo Next Page
To Previous Page IconTo Previous Page
To Previous Page IconTo Previous Page
Loading...
Operating Instructions
– 32 –
Y53-1030A 12/09 PACCAR
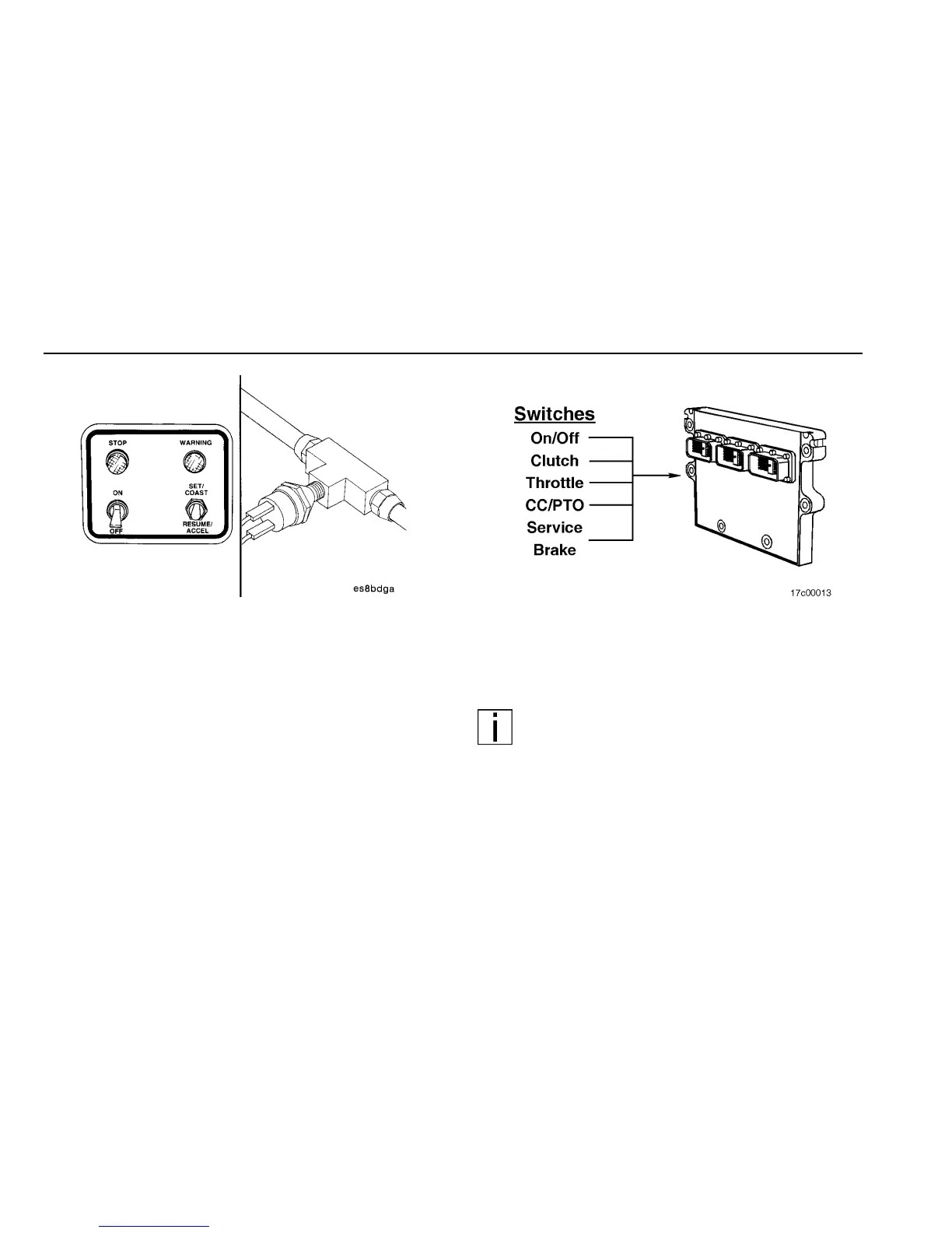
Other switches for cruise control that affect engine brake
operations are:
Service brake air pressure switch (if service brake actua-
tor feature is selected).
Clutch switch.
Throttle sensor.
The ECM allows the engine brakes to operate while the
cruise control is turned on.
The two-position selector switch (standard) or three-position
(optional) is located next to the on/off switch in the cab, and
allows you to select the retarding power of one or two brakes.
LOW activates the engine brake on three cylinders, and HI
activates the engine brake on six cylinders.
Signals from the on/off switch, clutch switch, throttle sensor,
and the cruise/PTO switches are fed into the ECM.
NOTE: Any one of these switches can de-activate
the engine brakes.

Table of Contents

Related product manuals