EasyManua.ls Logo

Panasonic DMR-ES15EB

Panasonic DMR-ES15EB
154 pages
To Next Page IconTo Next Page
To Next Page IconTo Next Page
To Previous Page IconTo Previous Page
To Previous Page IconTo Previous Page
Loading...
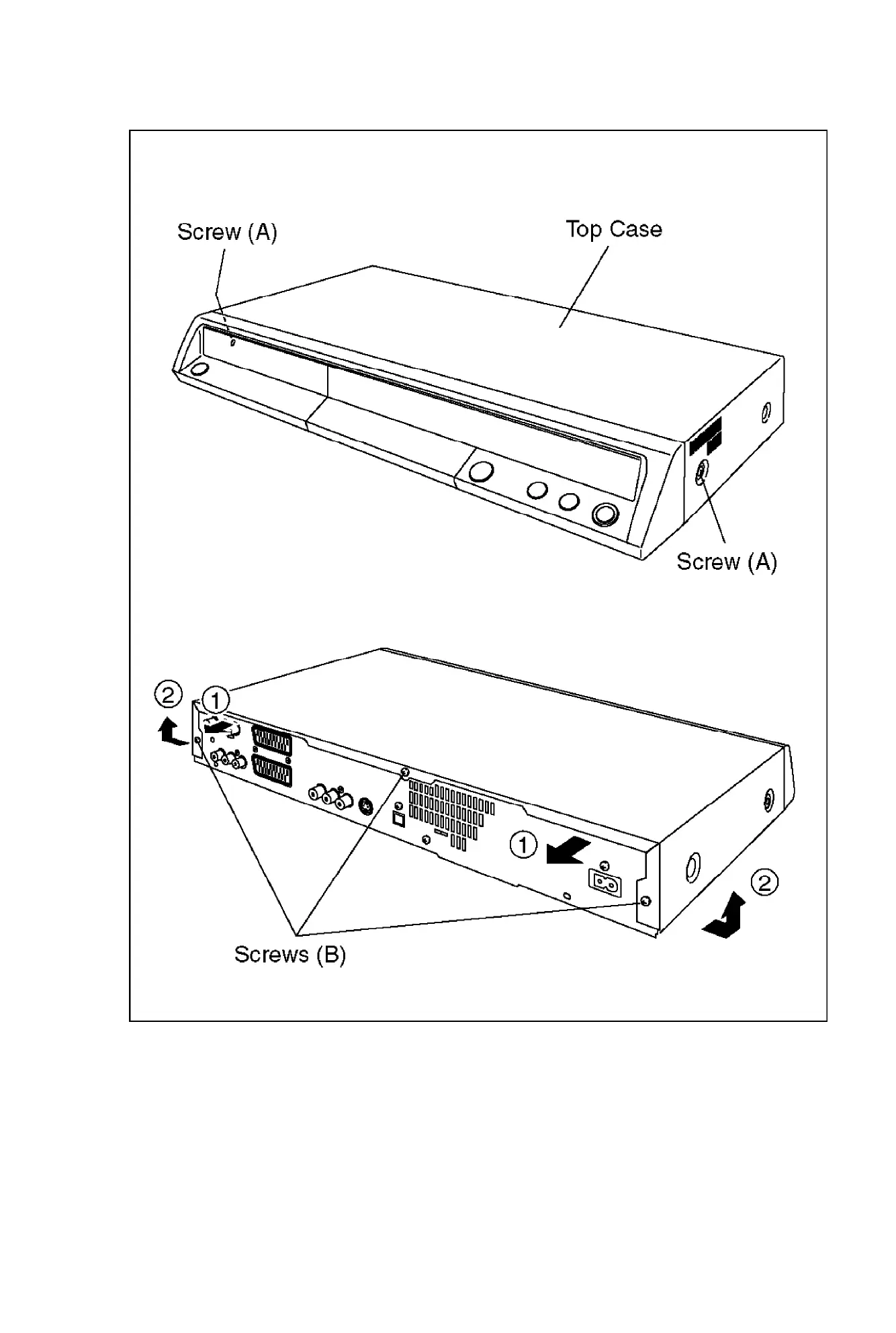
10.4. Front Panel
1. Unlock 6 tabs in (A) - (F) turn.
Pull with the front panel in the direction of your side.
36

Other manuals for Panasonic DMR-ES15EB

Related product manuals