EasyManua.ls Logo

Panasonic EYFLA5A - Operation Illustrations and Features; Battery Insertion and Remote Control Range

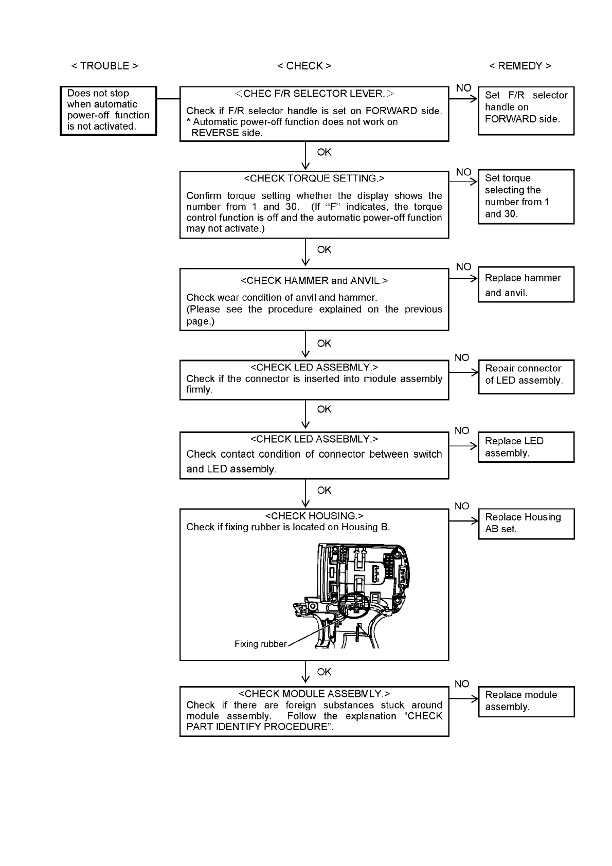
Panasonic EYFLA5A
34 pages
Print Icon
To Next Page IconTo Next Page
To Next Page IconTo Next Page
To Previous Page IconTo Previous Page
To Previous Page IconTo Previous Page
Loading...
5

Other manuals for Panasonic EYFLA5A

Related product manuals