EasyManua.ls Logo

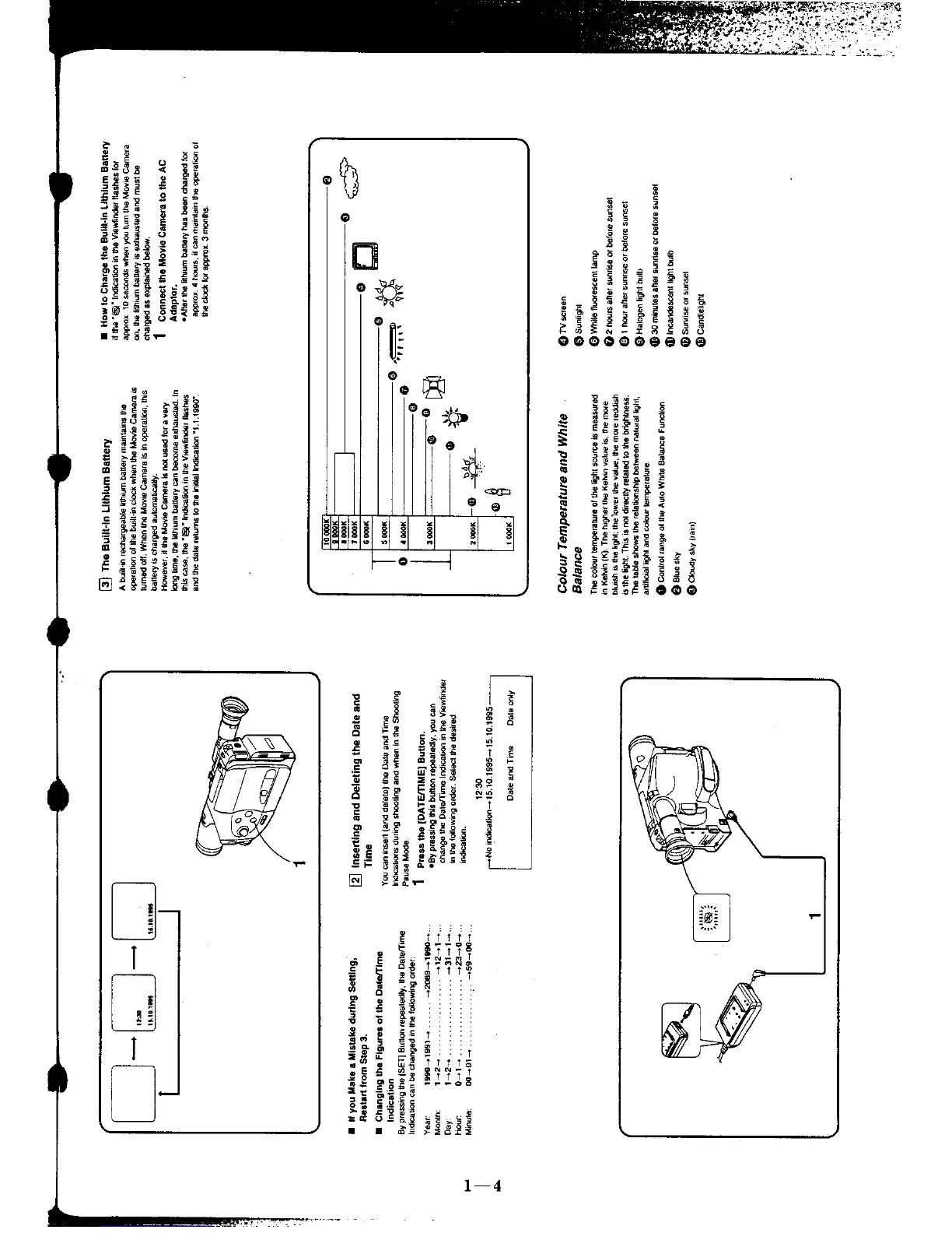
Panasonic NV-R33E - Battery and Time Settings; Charging the Built-in Lithium Battery; Setting Date and Time; Color Temperature and White Balance

Panasonic NV-R33E
6 pages
Print Icon
To Next Page IconTo Next Page
To Next Page IconTo Next Page
To Previous Page IconTo Previous Page
To Previous Page IconTo Previous Page
Loading...

Related product manuals