EasyManua.ls Logo

Panasonic S-22MF2E5A8 - Page 99

Panasonic S-22MF2E5A8
102 pages
Print Icon
To Next Page IconTo Next Page
To Next Page IconTo Next Page
To Previous Page IconTo Previous Page
To Previous Page IconTo Previous Page
Loading...
7 - 3
7
VRF SYSTEMS Indoor UnitVRF SYSTEMS Indoor Unit
1. Test Run
<Procedure of CZ-RTC3 / CZ-RTC5A>
1
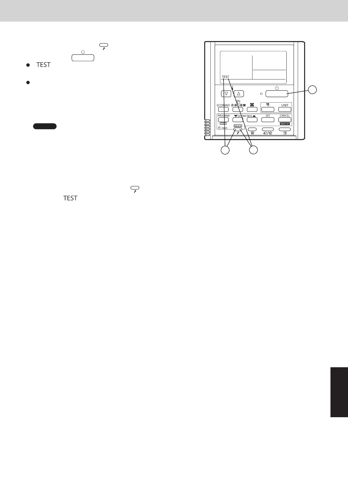
Keep pressing the , and
buttons simultaneously for 4 or more seconds.
The “Maintenance func” screen appears on the
LCD display.
2
Press the or button to see each
menu.
If you wish to see the next screen instantly, press
the or button.
Select "4. Test run" on the LCD display and press
the button.
Change the display from OFF to ON by pressing
the or button. Then press the
button.
Fig. 1
3
Press the button. “TEST” will be displayed
on the LCD display.
4
Press the button. Test run will be started.
Test run setting mode screen appears on the LCD
display.
Maintenance func
1. Outdoor unit error data
2. Service contact
3. RC setting mode
4.Test run
Sel. Page [ ] Confirm
20:30 (THU)
Maintenance func
1. Outdoor unit error data
2. Service contact
3. RC setting mode
4.Test run
Sel. Page [ ] Confirm
20:30 (THU)
[ ] Confirm
Test run
Change
20:30 (THU)
Test run
ON
TEST
START[ ]
20:30 (THU)
TEST
20:30 (THU)
COOL
MODE
SM830231-00Single欧州.indb19 2014/04/0413:48:34
7-1. Test Run
Regarding the detailed settings for the test run, refer to the service manual for each outdoor unit.
If operating the high-spec wired remote controller (CZ-RTC3 / CZ-RTC5A / CZ-RTC4) is necessary,
follow the procedure described below.
START[ ]
20:30 (THU)
5-3
Test Run
1
2
3
4
5
6
7
8
9
1. Test Run
1
1
4
1. Press the remote controller
Then press the
button for 4 seconds or longer.
button.
progress.
” appears on the LCD display while the test run is in
The temperature cannot be adjusted when in Test Run mode.
(This mode places a heavy load on the machines.
Therefore use it only when performing the test run.)
2. The test run can be performed using the HEAT, COOL, or FAN
operation modes.
The outdoor units will not operate for approximately 3 minutes
after the power is turned ON and after operation is stopped.
3. If correct operation is not possible, a code is displayed on
the remote controller LCD display.
(Refer to “Table of Self-Diagnostic Functions” and correct
the problem.)
4. After the test run is completed, press the button again.
Check that “” disappears from the LCD display.
(To prevent continuous test runs, this remote controller
includes a timer function that cancels the test run after 60
minutes.)
* If the test run is performed using the wired remote controller,
operation is possible even if the cassette-type ceiling panel
has not been installed. (“P09” display does not occur.)
NOTE
<Procedure of CZ-RTC4>
SM830232-02_欧州向けVRF Indoor SM&TRSM.indb 3 2017/02/01 14:10:30

Related product manuals