EasyManua.ls Logo

Panasonic TC-P50S1

Panasonic TC-P50S1
118 pages
To Next Page IconTo Next Page
To Next Page IconTo Next Page
To Previous Page IconTo Previous Page
To Previous Page IconTo Previous Page
Loading...
21
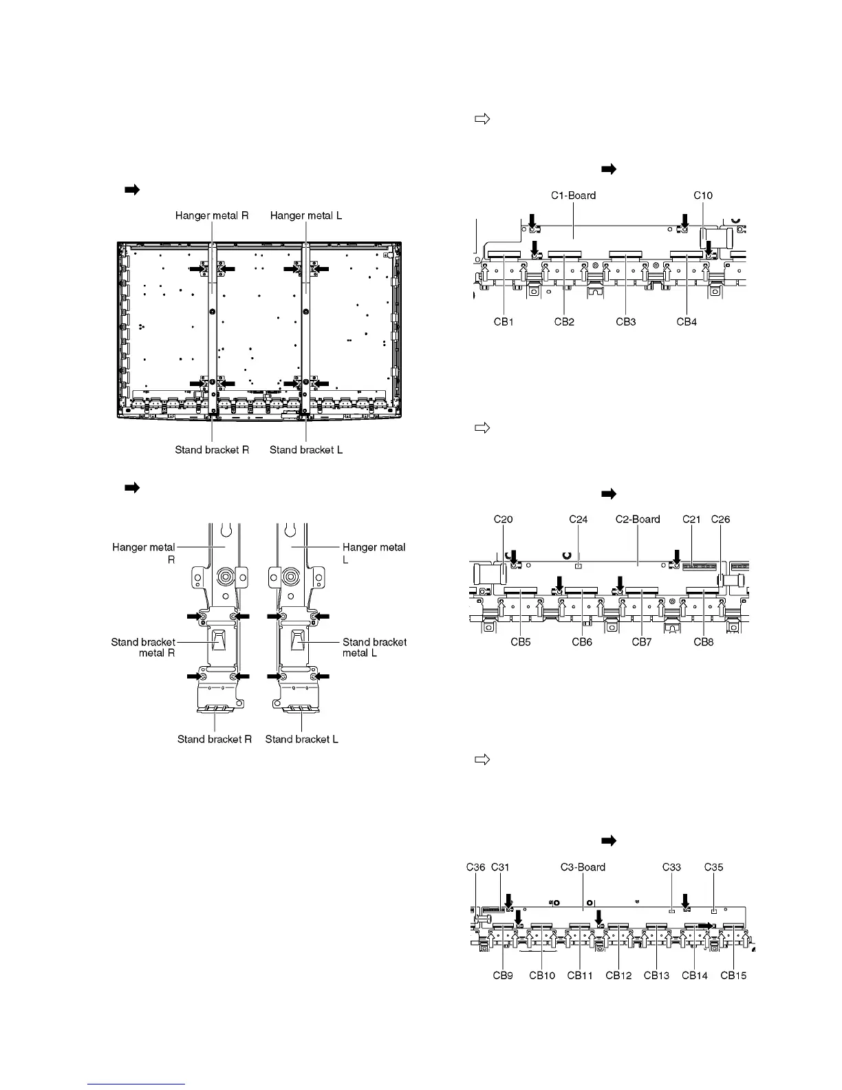
7.15. Remove the Hanger metals and
the Stand brackets
1. Remove the Plasma panel section from the servicing
stand and lay on a flat surface such as a table (covered
by a soft cloth) with the Plasma panel surface facing
downward.
2. Remove the Hanger metals (L, R) fastening screws (×4
each) and remove the Hanger metals (L, R).
3. Remove the Stand brackets (L, R) fastening screws (×4
each) and remove the Stand bracket metals (L, R)
and the Stand brackets (L, R).
7.16. Remove the C1-Board
1. Remove the Control button unit. (See section 7.8.)
2. Remove the flexible cables holder fastening screws (×8
).
3. Disconnect the flexible cables (CB1, CB2, CB3 and CB4).
4. Disconnect the flexible cable (C10).
5. Remove the screws (×4 ) and remove the C1-Board.
7.17. Remove the C2-Board
1. Remove the Hanger metal R and the Stand bracket R.
(See section 7.15.)
2. Remove the flexible cables holder fastening screws (×8
).
3. Disconnect the flexible cables (CB5, CB6, CB7 and CB8).
4. Disconnect the flexible cables (C20, C21 and C26).
5. Disconnect the connector (C24).
6. Remove the screws (×4 ) and remove the C2-Board.
7.18. Remove the C3-Board
1. Remove the Tuner unit. (See section 7.5.)
2. Remove the Hanger metal L and the Stand bracket L.
(See section 7.15.)
3. Remove the flexible cables holder fastening screws (×14
).
4. Disconnect the flexible cables (CB9, CB10, CB11, CB12,
CB13, CB14 and CB15).
5. Disconnect the flexible cables (C31 and C36).
6. Disconnect the connectors (C33 and C35).
7. Remove the screws (×5 ) and remove the C3-Board.

Table of Contents

Other manuals for Panasonic TC-P50S1

Related product manuals