EasyManua.ls Logo

Panterra Retro - Page 97

Default Icon
188 pages
Print Icon
To Next Page IconTo Next Page
To Next Page IconTo Next Page
To Previous Page IconTo Previous Page
To Previous Page IconTo Previous Page
Loading...
8. Cylinder and Piston
8-7
94
NIKOTA USA: PANTERRA SCOOTER SERVICE MANUAL
CHAPTER 8: CYLINDER AND PISTON
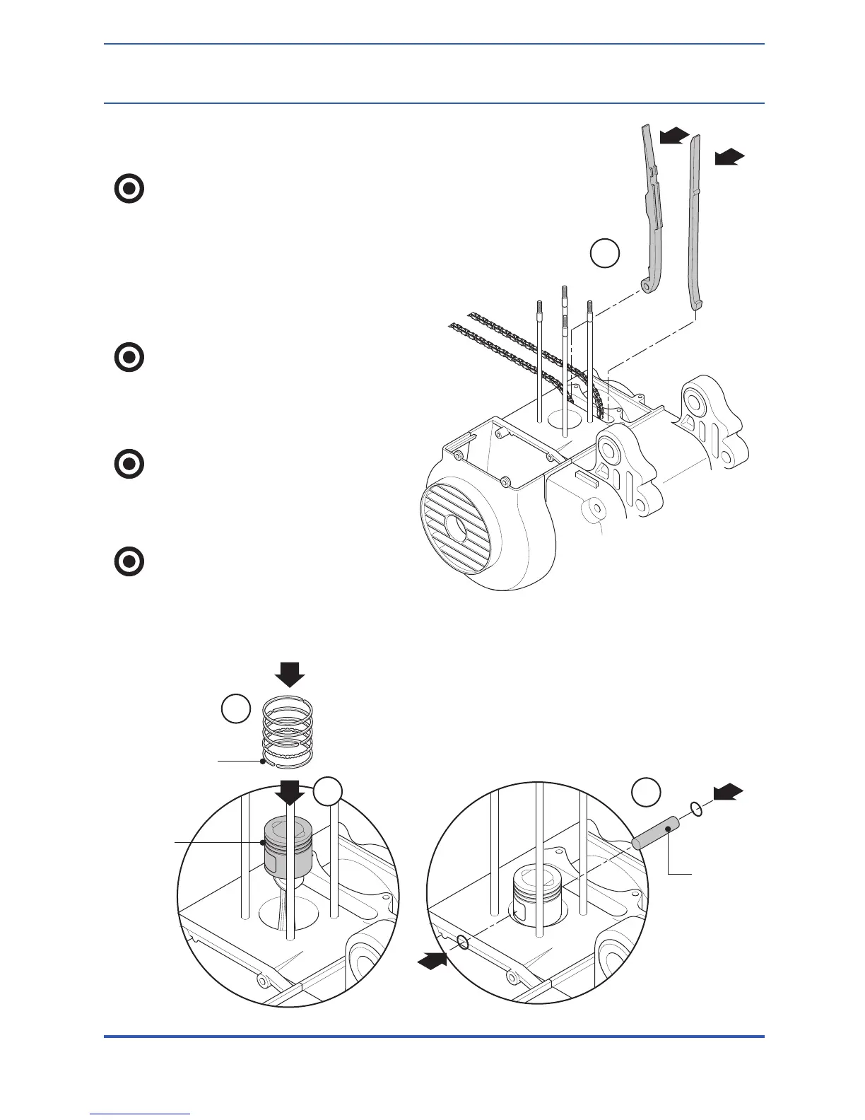
8. Install the chain guide lever of the cam.
Attention:
Make sure that the lug of the guide
lever enters the notch of the cylinder.
Assembling the Piston
1. Scrape away the gasket adhering on the
surface of the crankcase.
Attention:
Be sure not to let any matter drop
into the crankcase.
2. Assemble the piston and the piston pin.
Attention:
When assembling, keep the mark “in”
(on the top of the piston) toward the
inlet valve.
Be sure not to let the piston pin snap
ring fall into the crankcase. Use a
cloth to keep debris out of the
crankcase.
3a
2
8
PISTON PIN
PISTON
SNAP
RING
3b
PISTON

Table of Contents

Related product manuals