EasyManua.ls Logo

Paragon HydraFLOW - Page 6

Paragon HydraFLOW
14 pages
Print Icon
To Next Page IconTo Next Page
To Next Page IconTo Next Page
To Previous Page IconTo Previous Page
To Previous Page IconTo Previous Page
Loading...
5
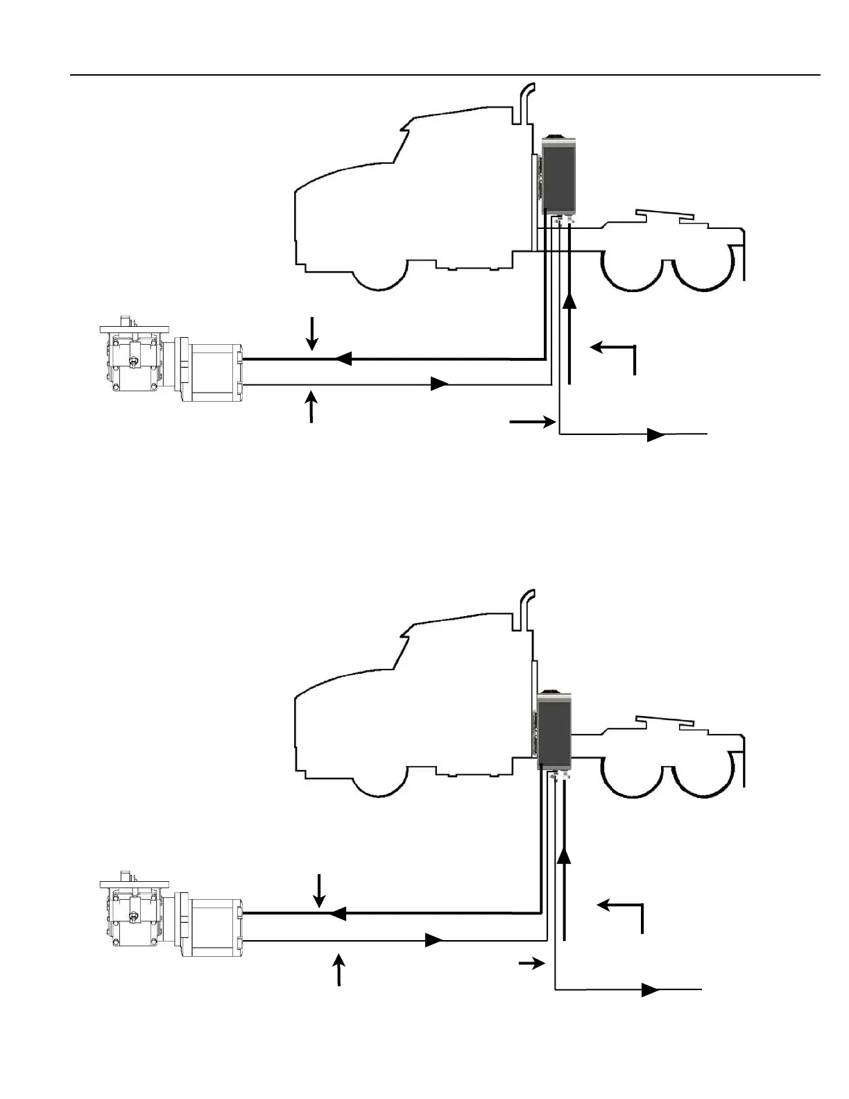
BEST Suction Condition:
Behind Cab Mount
Suction (see page 4)
High Pressure
Pump to HydraFlow 3/4”
High Pressure to
Hydraulic Motor 3/4”
Low Pressure Return
Motor to HydraFlow 1”
Suction (see page 4)
High Pressure
Pump to HydraFlow 3/4”
High Pressure to
Hydraulic Motor 3/4”
Low Pressure Return
Motor to HydraFlow 1”
Alternate Frame Rail Mount (Fig. 3)
Note:
Review Hose Chart (Fig. 1) to ensure the correct suction hose sizing.
For off road applications do not mount HydraFLOW directly to the frame rail. Behind the cab
mount is recommended.
See system circuit drawing for complete hydraulic plumbing.
Preferred behind the cab mount (optimum suction conditions, Fig. 2)