EasyManua.ls Logo

parktool PRS-33 - Page 9

parktool PRS-33
20 pages
Print Icon
To Next Page IconTo Next Page
To Next Page IconTo Next Page
To Previous Page IconTo Previous Page
To Previous Page IconTo Previous Page
Loading...
I. A l’aide d’une clé hexagonale de 2.5mm et de la petite clé à molette,
fixer l’ensemble de réglage de tension (#24, #25, #26) et la fixation de
chaine (#14) à la chaine (#21) au bas du montant (#2) à l’aide des vis
M3 x 25 (#20) et écrous nylon M3 (#36).
I. Verbinden Sie mit 2.5 mm Innensechskant und kleinem einstellbaren
Maulschlüssel den Kettenspanner (#24, #25, #26) mit der Kettenhalter-
ung (#14) und der Antriebskette (#21) am Fußende des Standrohrs.
Verwenden Sie dazu je zwei Innensechskantschrauben M3 x 25 (#20)
und selbstsichernde Muttern M3 (#36).
I. Utilizando la Llave Allen de 2.5mm y la llave perico ajustable, coloque
los tensores (#24, #25, #26) y el seguro (#14) en la parte inferior del
soporte vertical (#2) en la cadena (#21) con los tornillos M3x25 (#20) y
las tuercas M3 (#36).
J. Using 4mm hex wrench and 10mm combination wrench, attach chain
retainer (#14) to bottom of upright with M6 x 1.0 x 40 flat head socket
cap screws (#19) and M6 x 1.0 nylon insert lock nuts (#33).
NOTE: The PRS-33 can be turned into a double-arm repair stand with
the addition of the optional PRS-33 AOK Add-On Kit. Repeat steps A-J
on opposite side of upright using parts included with the PRS-33 AOK.
J. A l’aide d’une clé hexagonale de 4mm et d’une clé plate de 10mm,
attacher la fixation de chaine au montant avec les vis M6 x 1.0 x 40
(#19) et écrous nylon M6 x 1.0 (#33).
NOTE: Le PRS-33 peut être transformé en pied de reparation double
à l’aide de l’option PRS-33 AOK. Répéter les étapes A-J sur la face
opposée du montant en utilisant les pièces fournies avec le kit PRS-33
AOK.
J. Befestigen Sie mit 4 mm Innensechskant und 10 mm Ring-/Maulschlüs-
sel die Kettenhalterung (#14) am Fußende des Standrohrs (#2).
Verwenden Sie dafür je zwei Linsenkopfschrauben M6 x 1.0 x 40 (#19)
und selbstsichernde Muttern M6 (#33).
HINWEIS: Mithilfe des optionalen Doppelarm-Sets PRS-33 AOK kann
der PRS-33 in einen Doppelmontageständer mit zwei separat verstell-
baren Halteklauen verwandelt werden. Wiederholen Sie zur Montage
dieses Ergänzungssets einfach die Schritte A-J auf der anderen Seite
des Standrohrs.
J. Utilizando la Llave Allen de 4mm y la llave española de 10mm, sujete el
seguro de cadena (#14) a la parte inferior del soporte vertical con un
tornillo M6x1.0 x 40 (#19) y una tuerca M6x1.0 (#33).
NOTA: El PRS-33 puede convertirse en un soporte de reparación doble
agregando el PRS-33 AOK. Repita los pasos A-J en el lado opuesto del
soporte vertical utilizando las piezas que incluye el PRS-33 AOK.
____________________________
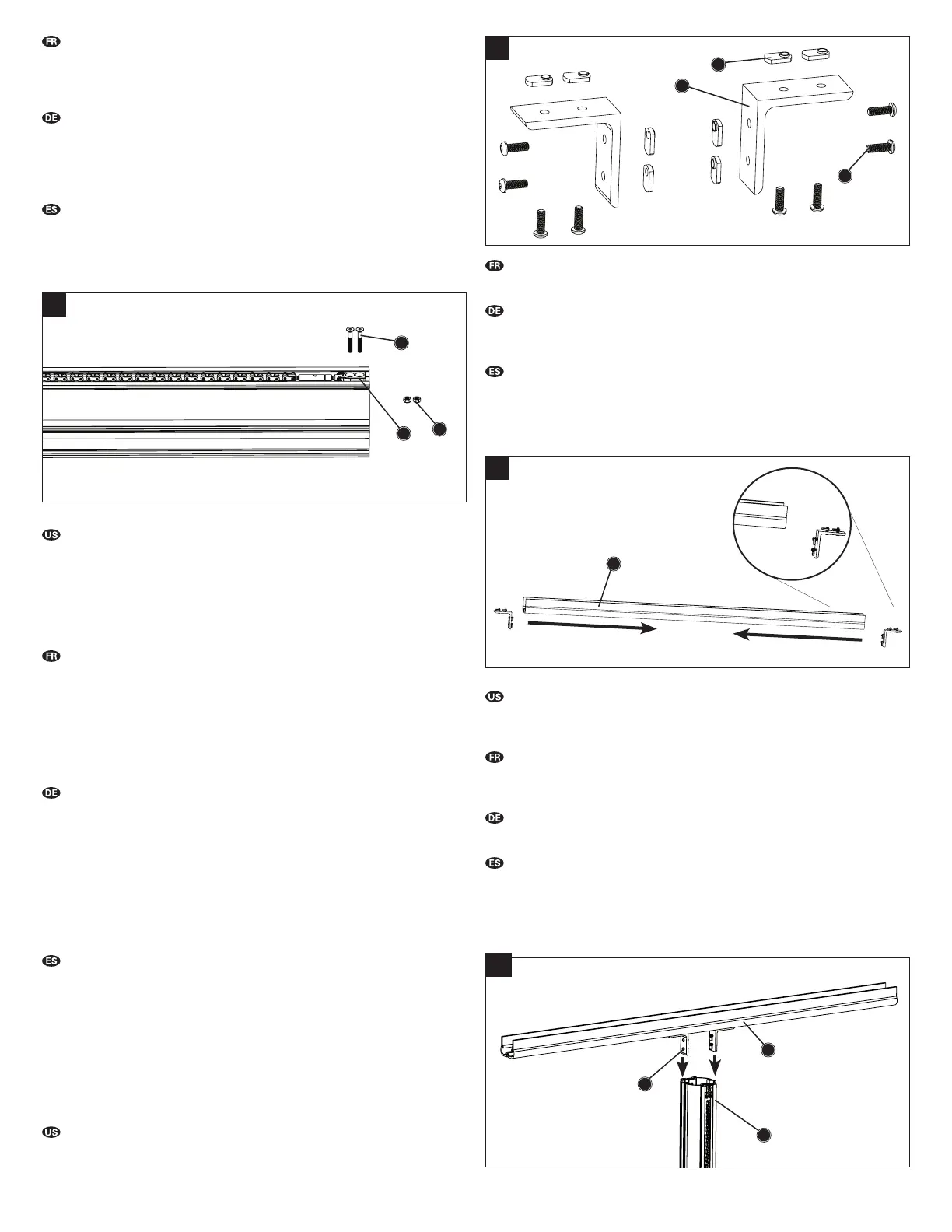
K. Assemble four M6 x 1.0 x 16 button head socket cap screws (#13) and
four M6 x 1.0 offset T-nuts (#12) to each cross bar support (#9). Do not
tighten.
K. Assembler quatre vis M6 x 1.0 x 16 (#13) et quatre écrous en T (#12) sur
chaque support de barre horizontale (#9). Ne pas serrer.
K. Montieren Sie jeweils vier Rundkopfschrauben M6 x 1.0 x 16 (#13) und
Distanzgewindestücke M6 x 1.0 (#12) lose in jedem Haltewinkel des
Querträgers (#9). Noch nicht festziehen.
K. Inserte los cuatro tornillos M6x1.0x16 (#13) y las cuatro tuercas M6x1.0
(#12) en cada una de las ménsulas (#9). No apriete totalmente los
tornillos.
L. Slide the two cross bar support/T-nut/cap screw assemblies (#9, #12,
#13) into ends of cross bar (#8) and slide toward center of crossbar. Do
not fully tighten.
L. Coulisser les deux ensembles supports/vis/écrous en T (#9, #12, #13)
dans les extrémités de la barre horizontale (#8) et les faire glisser vers
le centre de la barre. Ne pas serrer entièrement.
L. Schieben Sie die beiden vormontierten Haltewinkel (#9, #12, #13) von
den Enden her in die Mitte des Querträgers (#8). Noch nicht festziehen!
L. Deslice las dos ménsulas con los tornillos y las tuercas (#9, #12, #13)
dentro de la barra superior transversal (#8) y deslícelas hacia el
centro. No apriete totalmente los tornillos.
L
J
K
M
33
19
14
9
12
13
8
8
2
13