EasyManua.ls Logo

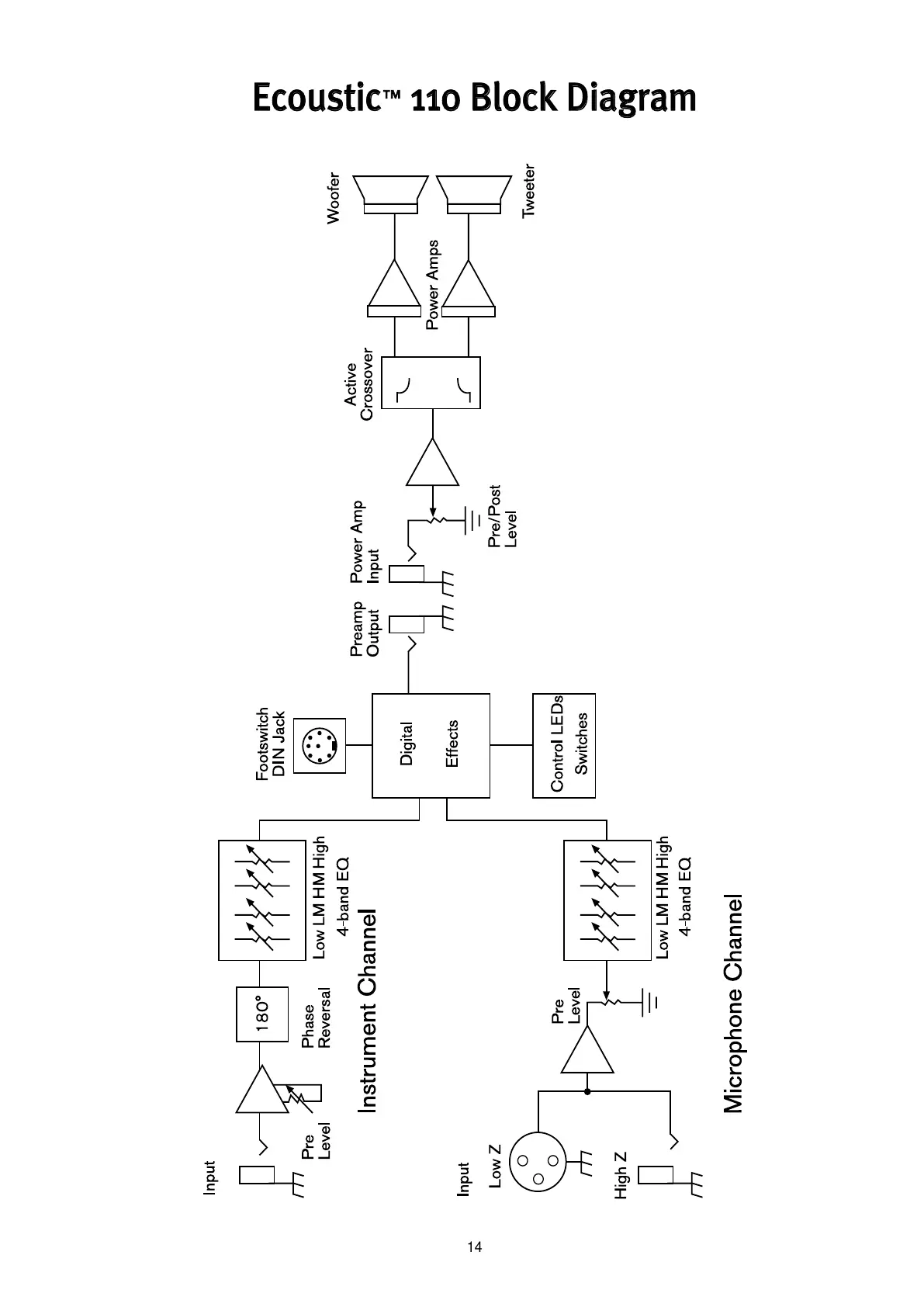
Peavey Ecoustic Series - Ecoustic 110 Block Diagram

Peavey Ecoustic Series
52 pages
To Next Page IconTo Next Page
To Next Page IconTo Next Page
To Previous Page IconTo Previous Page
To Previous Page IconTo Previous Page
Loading...
14
EEccoouussttiicc
111100 BBlloocckk DDiiaaggrraamm
All manuals and user guides at all-guides.com

Other manuals for Peavey Ecoustic Series

Related product manuals