EasyManua.ls Logo

peerless-AV DST980-3 - Page 17

peerless-AV DST980-3
28 pages
Print Icon
To Next Page IconTo Next Page
To Next Page IconTo Next Page
To Previous Page IconTo Previous Page
To Previous Page IconTo Previous Page
Loading...
17
2014-05-29 #:203-9401-4 (2014-09-30)
I
6
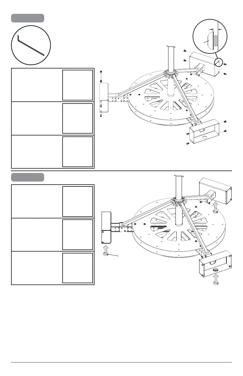
DST980-3
x3
x4
x6
DST975-4
DST942-6
1/8"
(3mm)
LL
P
7
DST980-3
x3
x4
x6
DST975-4
DST942-6

Related product manuals