EasyManua.ls Logo

peerless-AV DST980-3 - Page 21

peerless-AV DST980-3
28 pages
Print Icon
To Next Page IconTo Next Page
To Next Page IconTo Next Page
To Previous Page IconTo Previous Page
To Previous Page IconTo Previous Page
Loading...
21
2014-05-29 #:203-9401-4 (2014-09-30)
14
15
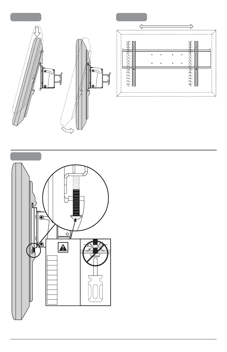
Tighten.
Apretar.
Serrer.
Anziehen.
Aandraaien.
Stringere.
Utáhněte.
Utiahnite.
Apertar.
Sıkmak.
ENG
ESP
FRN
DEU
NEL
ITL
Č
SLK
POR
TÜR
13

Related product manuals