EasyManua.ls Logo

peerless-AV SA752P - Page 12

peerless-AV SA752P
34 pages
Print Icon
To Next Page IconTo Next Page
To Next Page IconTo Next Page
To Previous Page IconTo Previous Page
To Previous Page IconTo Previous Page
Loading...
12 de 34
PUBLICADO: 03-26-10 HOJA #: 095-9345-5 11-02-11
Español
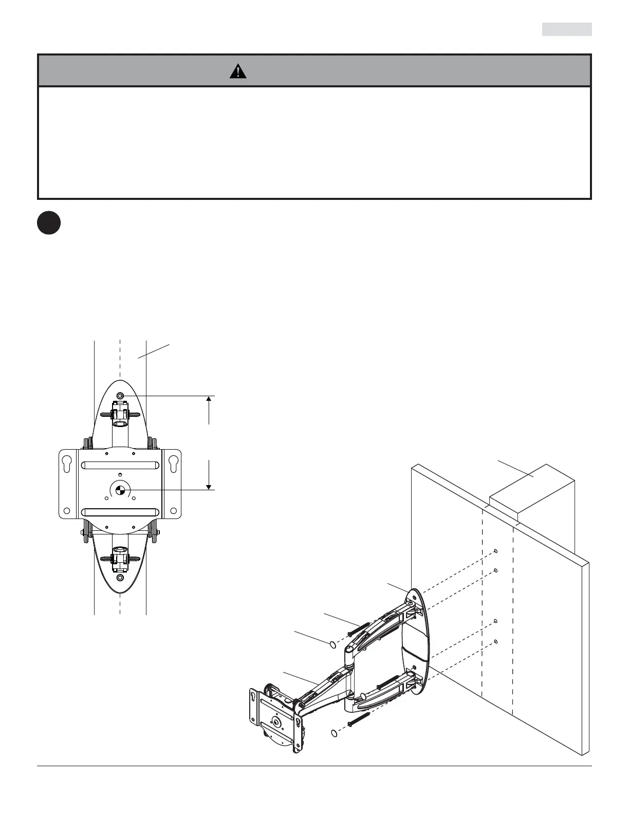
Utilizando un localizador de montantes, localice y marque los bordes del montante. Se recomienda utilizar un
localizador de montantes de "borde a borde". Utilice un nivel para trazar una línea vertical por el centro del
montante. Utilice la placa de la plantilla de pared (brazo de pared) para marcar el centro de los agujeros sobre la
línea vertical. Los agujeros de montaje superiores deben estar ubicados a 7.54" (192mm) sobre el punto donde
quiere que quede el centro de la pantalla, como se muestra en la fi gura 1.1. Taladre cuatro agujeros de 5/32"
(4mm) de diámetro con una profundidad de 2.5" (64mm). Fije el brazo de pared (A) en la pared usando cuatro
tornillos para madera (C) con Phillips broca #3 (K), como se muestra en la fi gura 1.2. Nivele la placa y apriete
todos los sujetadores.
Inserte cuatro cubiertas para sujetadores (F) en los agujeros de montaje de la placa de pared.
Instalación en una pared con montante de madera único
1
El instalador debe verifi car que la superfi cie de apoyo sea capaz de soportar fi rmemente la carga combinada del equipo y todos
los herrajes y componentes.
Apriete los tornillos para madera de tal modo que la placa de apoyo quede fi rmemente sujeta, pero no apriete en exceso. El
apriete excesivo puede dañar los tornillos, reduciendo enormemente su fuerza de fi jación.
Nunca apriete más de 80 pulg-lb (9 N•m).
Asegúrese de que los tornillos de montaje queden bien fi jos en el centro del montante. Se recomienda usar un localizador de
montantes de "borde a borde".
Los herrajes suministrados son para fi jar el soporte a través de tabique de yeso-cartón o yeso de espesor estándar a los
montantes de madera. Los instaladores son responsables de suministrar los herrajes para otros tipos de situaciones de montaje.
MONTANTE
PLACA DE PARED
C
F
A
g. 1.2
ADVERTENCIA
7.54"
(192mm)
g. 1.1
CP = CENTRO DE LA PANTALLA
MONTANTE
CP

Related product manuals