EasyManua.ls Logo

peerless-AV SA752P - Page 16

peerless-AV SA752P
34 pages
Print Icon
To Next Page IconTo Next Page
To Next Page IconTo Next Page
To Previous Page IconTo Previous Page
To Previous Page IconTo Previous Page
Loading...
16 de 34
PUBLICADO: 03-26-10 HOJA #: 095-9345-5 11-02-11
Español
Si desea aumentar o disminuir la tensión en los puntos de articulación del brazo, haga lo siguiente:
• Para aumentarla, gire el tornillo de cabeza hueca en sentido horario con la llave allen de 5mm (I). NOTA:
Apriete los tornillos a un máximo de 50 pulg-lb (5.6 N•m) de par torsor.
• Para reducirla, gire el tornillo de cabeza hueca en sentido contrahorario con la llave allen de 5mm (I).
NOTA: No lo gire más de media vuelta.
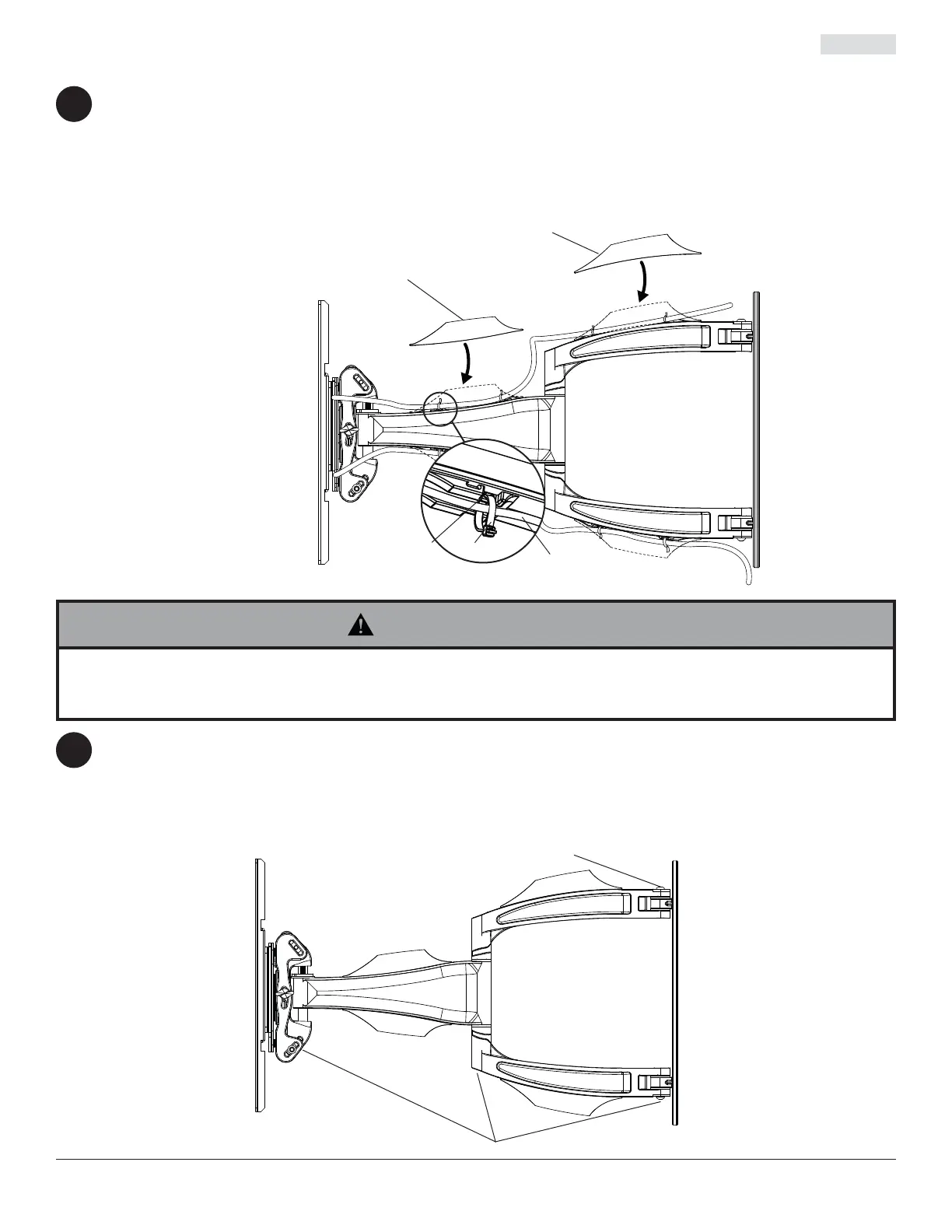
Manejo de cables
NOTA: Asegúrese de que los cordones no queden muy cortos para que el brazo se pueda mover completamente.
Pase el cordón de la electricidad por la parte superior o la parte inferior del brazo (A) y el cable o los cables de
la señal por el otro lado del brazo para evitar que haya interferencia con la señal. Asegure los cordones en su
lugar colocando las cubiertas de los cables (J y B), a presión, sobre el soporte. Es posible que necesite mover la
pantalla para tener acceso.
OPCIONAL: Si necesita acomodar más cables, acomode los sujetacables (G) por las ranuras del brazo (A), como
se muestra en el detalle 2.
5
6
B
J
A
G
CABLE
RANURA
DETALLE 2
No retire el tornillo ni lo afl oje hasta que se haya desenganchado del soporte. Se podría caer la pantalla.
Si los tornillos se afl ojan con el tiempo, apriételos según sea necesario. Apriete los tornillos a un máximo de 50 pulg-lb (5.6 N•m)
de par torsor.
ADVERTENCIA
TORNILLOS TENSORES
TORNILLOS TENSORES
© 2011, Peerless Industries, Inc. Todos los derechos reservados.
Cualesquiera otras marcas y nombres de productos son marcas comerciales o registradas de sus respectivos dueños.

Related product manuals