EasyManua.ls Logo

peerless-AV SA752P - Page 28

peerless-AV SA752P
34 pages
Print Icon
To Next Page IconTo Next Page
To Next Page IconTo Next Page
To Previous Page IconTo Previous Page
To Previous Page IconTo Previous Page
Loading...
28 von 34
AUSGEGEBEN: 03-26-10 BLATT NR.: 095-9345-5 11-02-11
Deutsch
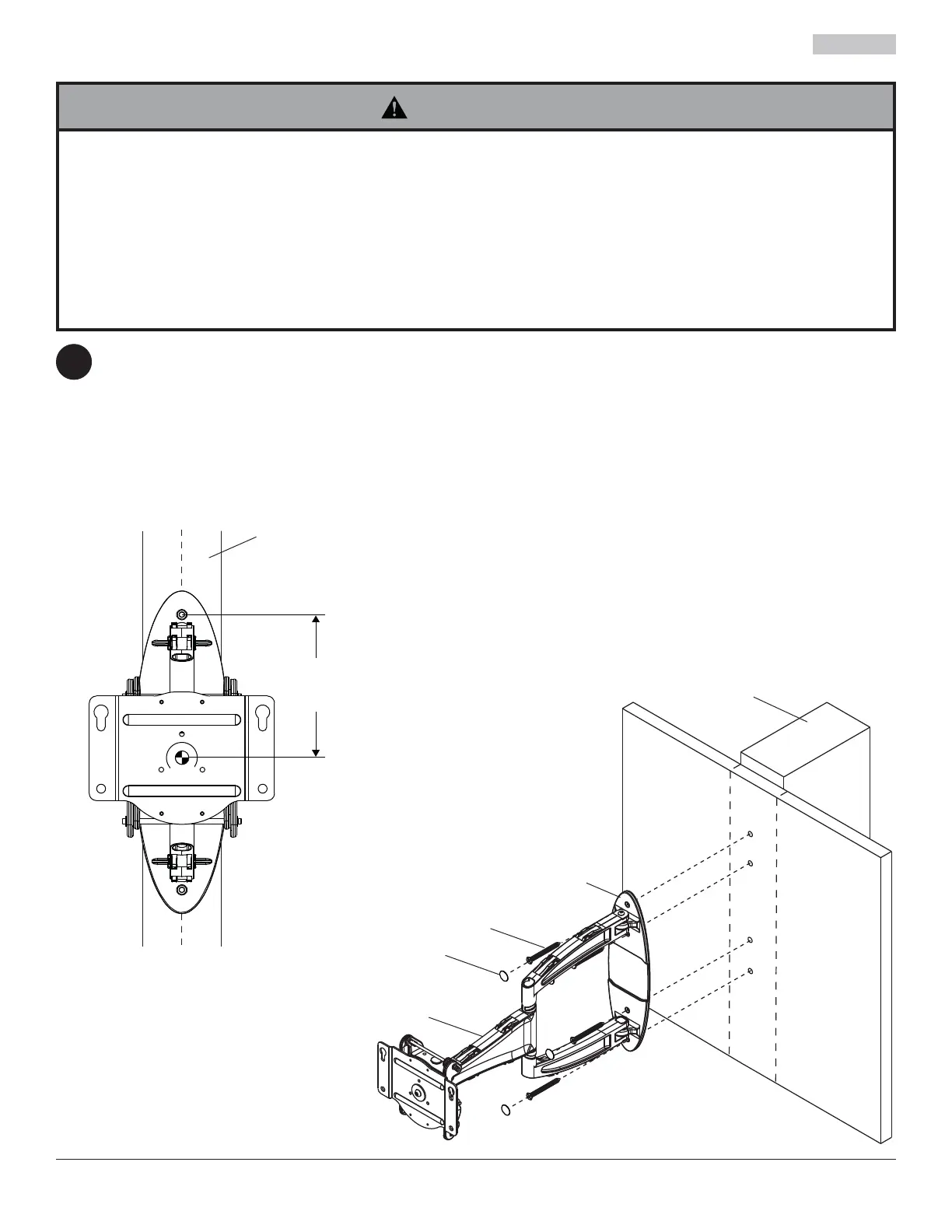
Bestimmen und markieren Sie die Kanten des Holzständers mithilfe eines Balkenfi nders. Am besten eignet sich
ein Balkenfi nder mit genauer Kantenanzeige. Ziehen Sie mithilfe einer Wasserwaage eine senkrechte Linie entlang
der Mitte des Ständers. Verwenden Sie die Wandplatte Vorlage (Wandarm) um den Mittelpunkt der Bohrungen auf
der senkrechten Linie zu markieren. Die oberen Montagebohrungen sollten sich wie in Abbildung 1.1 dargestellt
192mm (7,54 Zoll) oberhalb der gewünschten Bildschirmmitte befi nden. Bohren Sie vier Löcher mit einem
Durchmesser von 4mm (5/32 Zoll) und einer Mindesttiefe von 64mm (2,5 Zoll). Befestigen Sie den Wandarm (A)
mit vier Holzschrauben (C) mit Schraubendreher (L) wie in Abbildung 1.2 dargestellt an der Wand. Richten Sie die
Platte waagerecht aus und ziehen Sie dann sämtliche Befestigungsteile an.
Setzen Sie die vier Befestigungsteilabdeckungen (F) in die Montagebohrungen der Wandplatte ein.
1
WANDPLATTE
Anbringung an Wänden mit einer Holzständerreihe
Bei der Anbringung muss darauf geachtet werden, dass die Wand die kombinierte Last von Bildschirm und allen
Befestigungsteilen und -komponenten tragen kann.
Ziehen Sie die Schrauben fest genug an, dass die Wandplatte sicher befestigt ist, doch ohne sie zu überdrehen. Durch
Überdrehen können die Schrauben beschädigt werden, wodurch ihr Haltevermögen stark reduziert wird.
Das Drehmoment darf 80 in. • lb (9 Nm.) auf keinen Fall überschreiten.
Achten Sie darauf, dass die Befestigungsschrauben jeweils in der Mitte der Holzständer verankert werden. Am besten eignet
sich ein Balkenfi nder mit genauer Kantenanzeige.
Die mitgelieferten Befestigungsteile sind für die Befestigung des Halters durch Trocken- oder Putzwand standardmäßiger Stärke
in Holzständer vorgesehen. Für die Anbringung an anders konstruierten Wänden müssen andere Befestigungsteile verwendet
werden.
HOLZSTÄNDERREIHE
Abbildung. 1.2
C
F
A
ACHTUNG
7.54"
(192mm)
BS = IN DER MITTE DES BILDSCHIRMS
HOLZSTÄNDERREIHE
Abbildung. 1.1
BS

Related product manuals