EasyManua.ls Logo

peerless-AV SA752P - Mount Display to Arm; Attach Adapter Plate to Display

peerless-AV SA752P
34 pages
Print Icon
To Next Page IconTo Next Page
To Next Page IconTo Next Page
To Previous Page IconTo Previous Page
To Previous Page IconTo Previous Page
Loading...
6 of 34
ISSUED: 03-26-10 SHEET #: 095-9345-5 11-02-11
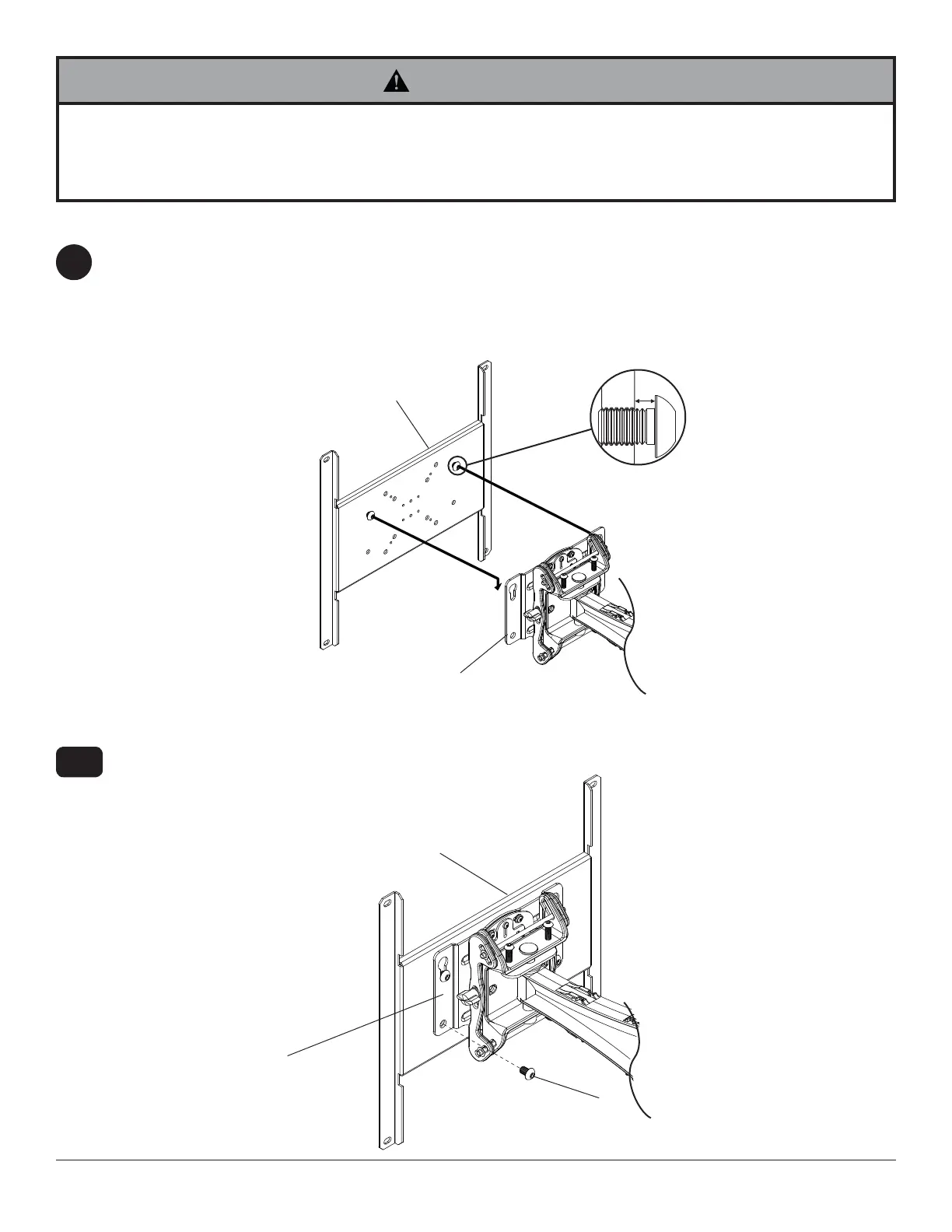
NOTE: Refer to PLP model instruction sheet for attachment of dedicated PLP plate to display. Install two
M10 x 15mm screws (provided with dedicated PLP plate) into top two holes of dedicated PLP plate leaving 1/4" of
exposed thread as shown in fi gure 2.1.
Insert two M10 x 15mm screws (E) into bottom holes of adapter plate as shown in fi gure 2.2. Tighten all fasteners
with 6mm allen wrench (H).
2-1
Do not lift more weight than you can handle. Use additional man power or mechanical lifting equipment to safely
handle placement of the display.
Do not tighten screws with excessive force. Overtightening can cause damage to mount. Tighten M10 x 15mm
screws (E) to 40 in. • lb (4.52 N.M.) maximum torque.
Mounting Flat Panel Display
2
1/4"
M10 X 15MM SCREW
DEDICATED PLP PLATE
ADAPTER PLATE
g. 2.1
E
DEDICATED PLP PLATE
ADAPTER PLATE
g. 2.2
WARNING

Related product manuals