EasyManua.ls Logo

PeerlessBoilers EC Series - Page 15

PeerlessBoilers EC Series
27 pages
Print Icon
To Next Page IconTo Next Page
To Next Page IconTo Next Page
To Previous Page IconTo Previous Page
To Previous Page IconTo Previous Page
Loading...
13
ELECTRICAL
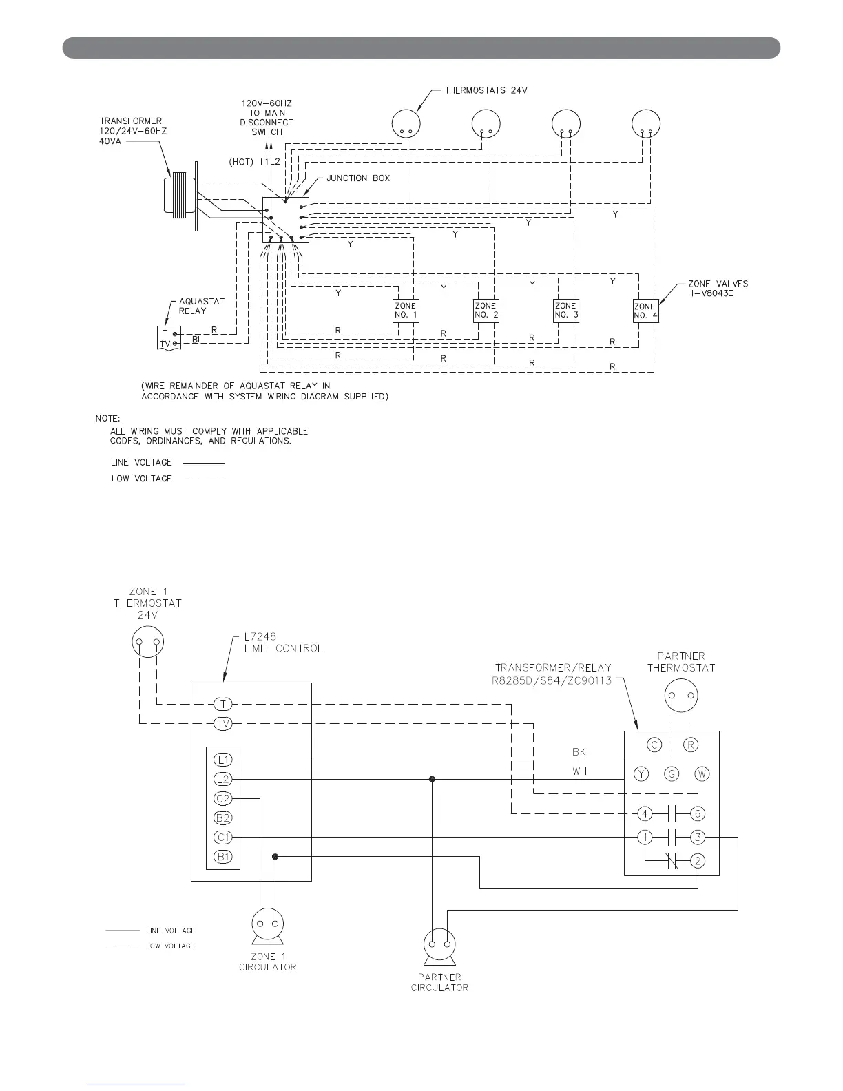
Figure 4.6: Zoning with Zone Valves
Figure 4.7: Partner with Circulator

Related product manuals