EasyManua.ls Logo

Pentair HIGH POWER WIRELESS LINK KIT - Page 7

Pentair HIGH POWER WIRELESS LINK KIT
16 pages
Print Icon
To Next Page IconTo Next Page
To Next Page IconTo Next Page
To Previous Page IconTo Previous Page
To Previous Page IconTo Previous Page
Loading...
High Power Wireless Link Kit Installation Guide
6
7
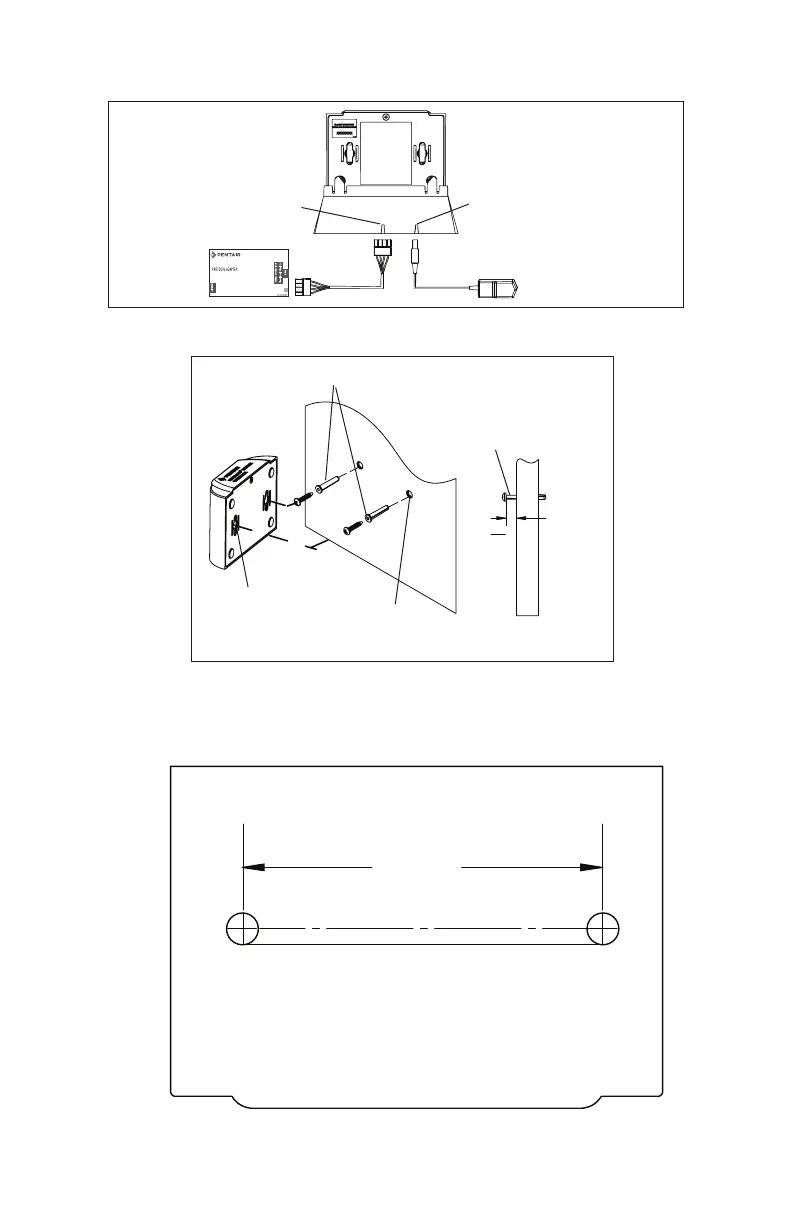
Wall Mount the HPW Indoor Transceiver
(Continued)
2½ in
Figure 3: Wall Mount Template for HPW Link Indoor Transceiver
HPW Link Indoor Transceiver Mounting Screws Location
Figure 2: Wall Mount the Indoor Wireless Transceiver
Figure 1: Cradle/Desk Mount the HPW Indoor Transceiver
Hang module
on screw head
(approx. 1/16 in
from wall surface)
1
16
"
(0.41 cm)
Mounting screw/plug (2x)
Screw hole (x2)
Wall screw
hole (2x)
Secure AC power
cable in slot in base
Secure
communication
cable in slot in base
120 VAC
power adapter
Protocol adapter
SCREENLOGIC INTERFACE
®