EasyManua.ls Logo

Pentair HIGH POWER WIRELESS LINK KIT - Connecting Outdoor Transceiver to RS-485 COM Port

Pentair HIGH POWER WIRELESS LINK KIT
16 pages
Print Icon
To Next Page IconTo Next Page
To Next Page IconTo Next Page
To Previous Page IconTo Previous Page
To Previous Page IconTo Previous Page
Loading...
High Power Wireless Link Kit Installation Guide
8
9
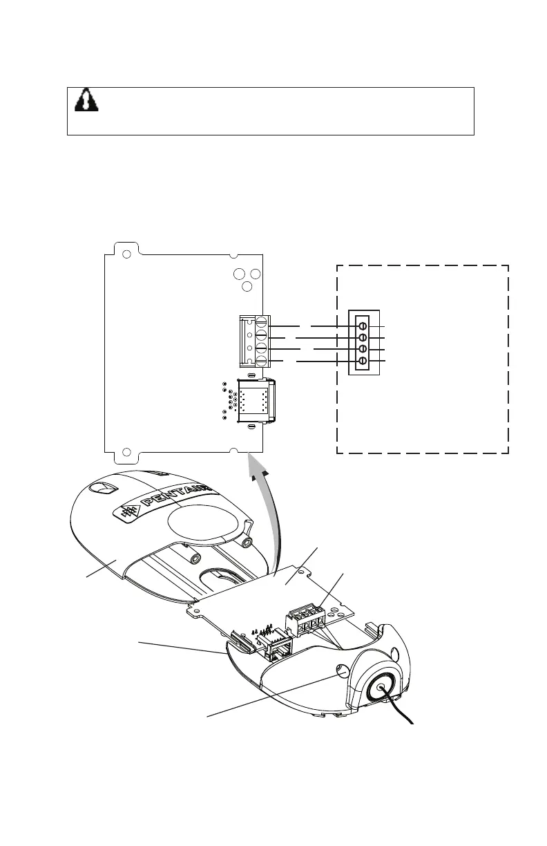
Figure 4. HPW Link Outdoor Transceiver
Case
Transceiver case
retaining screws (x2)
Back plate for
mounting circuit
board
HPW Link Outdoor Transceiver
circuit board
RS-485 - Connect
4-conductor communication
cable to terminal screws.
RS-485
COM PORT (RS-485)
screw terminal connector
on IntelliTouch
®
or
EasyTouch
®
Control System
BLK
RED
YEL
GRN
BLK (GND - PIN 1)
GRN (- DT - PIN 2)
YEL (+ DT - PIN 3)
RED (15 V - PIN 4)
HPW Outdoor
Transceiver
circuit board
Connect the HPW Link Outdoor Transceiver Cable to the
RS-485 COM Port on Automation Control System
WARNING Switch OFF the main power to the Load Center
before making any connections.
1. Switch OFF the AC power to the enclosure at the main house panel
circuit breaker.
2. Connect the four conductor connection cable to the screw terminal
on the HPW Outdoor Transceiver circuit board as shown below in
Figure 4.
Continue to next page.