EasyManua.ls Logo

Pfannenberg DTI 9441 - Page 25

Pfannenberg DTI 9441
Print Icon
To Next Page IconTo Next Page
To Next Page IconTo Next Page
To Previous Page IconTo Previous Page
To Previous Page IconTo Previous Page
Loading...
25
I
085408064e
3 Estensione della fornitura e opzioni
3.1 Estensione della fornitura
L'estensione della fornitura comprende:
Condizionatore (con attacco per l’interruttore di contatto della porta)
Confezione in dotazione (secondo il tipo di apparecchio, tra l‘altro
profilo di tenuta, materiale di fissaggio, connettori ad innesto
elettrici).
ed, all'occorrenza, accessori.
3.2 Opzioni
Le seguenti parti possono essere ordinate separatamente:
Cappa con prefiltro;
Altri accessori opzionali sono disponibili su richiesta oppure in
conformità al catalogo.
4 Caratteristiche generali
Gli apparecchi vecchi possono essere smaltiti correttamente dalla
Pfannenberg. La consegna ad uno dei nostri stabilimenti di pro-
duzione deve avvenire senza spese.
Tutte le macchine di condizionamento della Pfannenberg
sono esenti da
giunzioni con silicone,
PCB,
PCT,
amianto,
formaldeide,
cadmio,
sostanze nocive per l'utilizzatore.
Tutti i refrigeratori sono testati per la tenuta in stabilimento se-
condo quanto disposto dalla UVV-BGV D4 (regolamentazione
tedesca per la prevenzione degli infortuni).
Tutti i refrigeratori sono sottoposti in stabilimento ad un collaudo
sulla sicurezza elettrica prima della consegna. Perció decade
l'obbligo dell'utilizzatore a sottoporre e/o a far fare il collaudo
dell'impianto elettrico del refrigeratore per verificarne l'efficien-
za, prima della messa in funzione iniziale, secondo quanto dis-
posto dalla UVV-BGV A2, §5 (4).
5 Targhetta e caratteristiche tecniche
Per linstallazione e la manutenzione, occorre attenersi alle
indicazioni riportate sulla targa delle caratteristiche che si trova sul
lato posteriore della carcassa del refrigeratore. I dati tecnici dettagliati
del refrigeratore sono contenuti nel foglietto allegato.
Il refrigeratore può essere azionato solo alle condizioni ambiente
indicate sul foglio allegato. l refrigeratore non richiede una grande
manutenzione (vedi paragrafo 11).
Qualsiasi altro impiego è ritenuto improprio ed ha, quale
conseguenza, la perdita del diritto alla garanzia.
È essenziale sottoporre l'apparecchiatura elettrica a controlli regolari.
Qualsiasi mancanza e/o irregolarità, quali, per es. raccordi lassi,
cavi danneggiati, ecc., devono essere eliminati immediatamente.
I lavori al sistema di raffreddamento ed ai componenti elettrici,
possono essere effettuati soltanto da parte di personale specializzato
autorizzato.
È obbligo rispettare e mettere in pratica le corrispondenti normative
sulla sicurezza e sulla protezione ambientale.
Pericolo!
Prima di effettuare lavori di pulitura e di manutenzione,
occorre disconnettere il refrigeratore dalla tensione.
E‘ possibile impiegare solo parti di ricambio originali.
7 Funzionamento
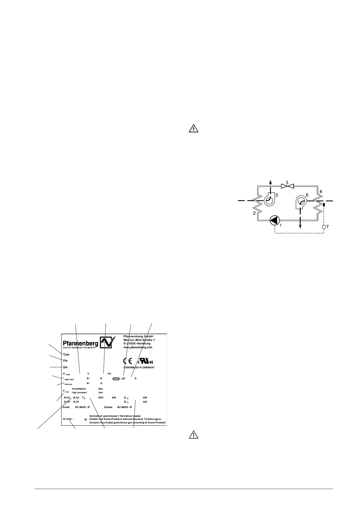
7.1 Principio di funzionamento
1 Compressore
2 Scambiatore di calore
(condensatore)
3 Valvola d‘espansione
4 Scambiatore di calore
(evaporatore)
5 Ventilatore - circuito esterno
6 Ventilatore -- circuito interno
7 Comando elettronico con termosonda
l refrigerante è compresso ad una pressione elevata dal compressore
(1). In questo modo la temperatura sale. Nel condensatore (2) il
calore è assorbito dall'aria ambiente ed è passato attraverso il
refrigerante. Il ventilatore soffiante del condensatore (5) aspira l'aria
attraverso il condensatore e la espelle nell'ambiente.
Passando attraverso la valvola di espansione (3) il refrigerante
subisce una diminuzione della pressione. Nell'evaporatore (4) il
refrigerante prende il calore dall'aria interna del quadro elettrico e la
trasforma in vapore. In questo modo l'aria all'interno del quadro
elettrico viene raffreddata. Contemporaneamente l'aria all'interno
del quadro elettrico viene umidificata. Il ventilatore dell'evaporatore
(5) aspira l'aria interna del quadro elettrico sopra l'evaporatore per
fare di nuovo arrivare l'aria raffreddata al quadro elettrico.
Il refrigeratore viene comandato elettronicamente. A questo scopo
Modello
Numero di
Modello
Numero
di serie
Corrente
nominale
Assorbimento
in accensione
Pressione del
refrigerante
Tensione nominale Frequenza Tipo di fusibili Fusibili
una termosonda rileva la temperatura dell‘aria interna del quadro
elettrico ad armadio (7). Il refrigerante utilizzato non è nocivo allo
strato dell'ozono ed è quasi ininfiammabile.
7.2 Condens
a
Al raffreddamento dell‘evaporatore l‘umidità estratta dall‘aria si
presenta in forma di condensa. La condensa dev‘essere scaricata
per evitare danni al quadro elettrico ad armadio ed al refrigeratore.
La condensa viene scaricata nel modo seguente:
nel caso di drenaggio normale della condensa essa viene raccol-
ta in una vasca e convogliata attraverso un tubo flessibile.
Si deve comunque fare attenzione di assicurare sempre un
convogliamento corretto della condensa (drenaggio di sicurezza).
E possibile un‘eccessiva presenza di condensa, per esempio
quando il quadro elettrico ad armadio non è ermetico oppure
quando la temperatura interna del quadro elettrico ad armadio è
spesso inferiore al punto di rugiada.
Condizioni esterne/
interne
Refrigerante
Potenza
elettrica
Resa refrigerante
Attenzione!
Qualora si abbia, in condizione di funzionamento normale,
una quantità eccessiva di quantità di condensa, controllare
6 Sicurezza
I condizionatore / refrigeratori della Pfannenberg sono progettati per il
condizionamento dei quadri elettrici (IP 54). Quando il refrigeratore è in
funzione genera condensa.
Il refrigeratore è progettato per il funzionamento stazionario.
le guarnizioni del quadro elettrico.
Per evitare quantità di condensa eccessive con quadro elet-
trico aperto, si consiglia l'installazione di un interruttore di
contatto sulla porta del refrigeratore che scatta all'apertura
della porta del quadro elettrico.

Table of Contents

Related product manuals