EasyManua.ls Logo

Philips AJ5300D/37 - Page 2

Philips AJ5300D/37
33 pages
Print Icon
To Next Page IconTo Next Page
To Next Page IconTo Next Page
To Previous Page IconTo Previous Page
To Previous Page IconTo Previous Page
Loading...
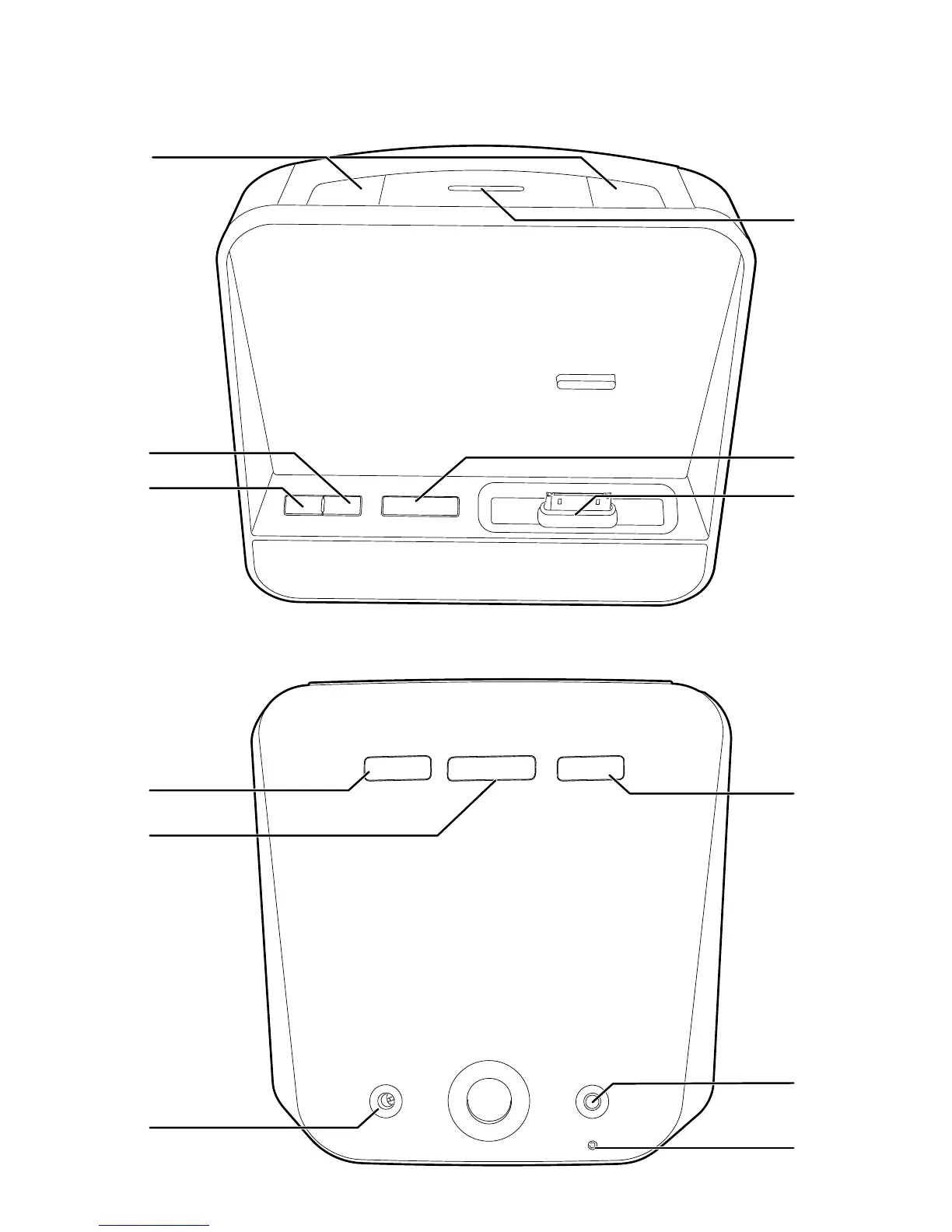
a
b
c
h
g
i
d
l
k
j
e
f
A

Related product manuals