EasyManua.ls Logo

Philips CD721 - Page 17

Philips CD721
33 pages
Print Icon
To Next Page IconTo Next Page
To Next Page IconTo Next Page
To Previous Page IconTo Previous Page
To Previous Page IconTo Previous Page
Loading...
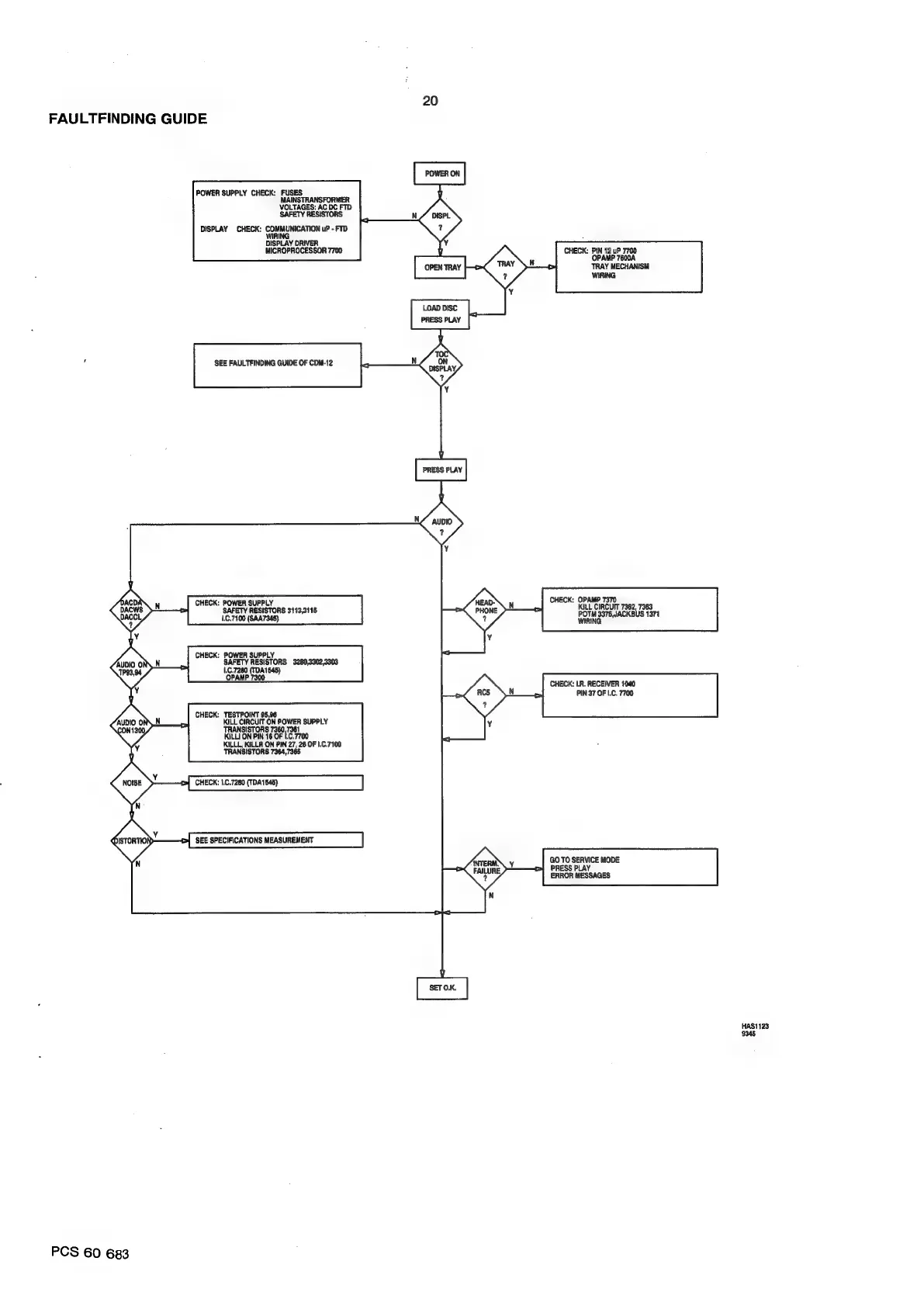
FAULTFINDING
GUIDE
PCS
60
683
POWER
SUPPLY
CHECK:
FUSES
MAINSTRANSFORMER
VOLTAGES:
AC
DC
FTD
SAFETY
RESISTORS
DISPLAY
CHECK:
COMMUNICATION
uP
-
FTD
WIRING
DISPLAY
DRIVER
MICROPROCESSOR
7700
SEE
FAULTFINDING
GUIDE
OF
CDM-12
CHECK:
POWER
SUPPLY
SAFETY
RESISTORS
3113,3115
1.C.7100
(SAA7345)
CHECK:
POWER
SUPPLY
SAFETY
RESISTORS
3280,3302,3303
.C.7280
(TDA1845)
OPAMP
7300
CHECK:
TESTPOINT
95,96
KILL
CIRCUIT
ON
POWER
SUPPLY
TRANSISTORS
7360,7361
KILI
ON
PIN
16
OF
L.C.7700
KILLL,
KILLA
ON
PIN
27,
26
OF
I,C.7100
TRANSISTORS
7364,7365
(CHECK:
1.C.7280
(TDA1545)
SEE
SPECIFICATIONS
MEASUREMENT
CHECK:
PIN
12
uP
7700
OPAMP
76004
TRAY
MECHANISM
WIRING
CHECK:
OPAMP
7370
KILL
CIRCUIT
7362,
7363
POTM
3376,JACKBUS
1371
WIRING
CHECK:
IR.
RECEIVER
1040
PIN
37
OF
I.C.
7700
GO
TO
SERVICE
MODE
PRESS
PLAY
ERROR
MESSAGES
HAS1123
9345

Related product manuals