EasyManua.ls Logo

Philips CD721 - Page 23

Philips CD721
33 pages
Print Icon
To Next Page IconTo Next Page
To Next Page IconTo Next Page
To Previous Page IconTo Previous Page
To Previous Page IconTo Previous Page
Loading...
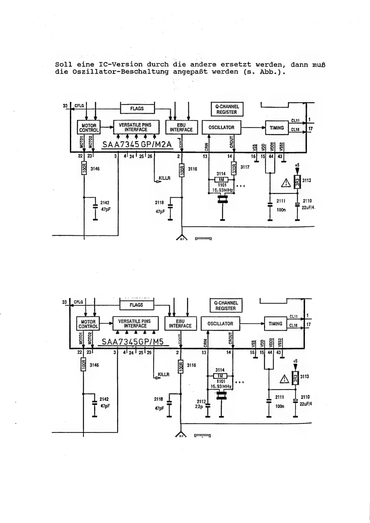
Soll
eine
IC-Version
durch
die
andere
ersetzt
werden,
dann
mus
die
Oszillator-Beschaltung
angepaBt
werden
(s.
Abb.).
Q.CHANNEL
REGISTER
Frame
[eu
iiteeace
OSCILLATOR
}
rans
cus
|
As
ee
16}
15)
mt
3117
#5
3113
cae
AR
16,93MHz
come
ai
L
atto
I
400n
I
22uF/4.
e
ie
cu
ft
17
33
|
CFLG
[Flags
|
Q-CHANNEL
a
REGISTER
CLi6
-_
2111
2110
ane
2112
7
22uFi4
al
eT
laa!
R41
ra

Related product manuals