EasyManua.ls Logo

Philips D605 - Main menu icons; Explains the icons used in the phones menu system.

Philips D605
54 pages
Print Icon
To Next Page IconTo Next Page
To Next Page IconTo Next Page
To Previous Page IconTo Previous Page
To Previous Page IconTo Previous Page
Loading...
6 EN
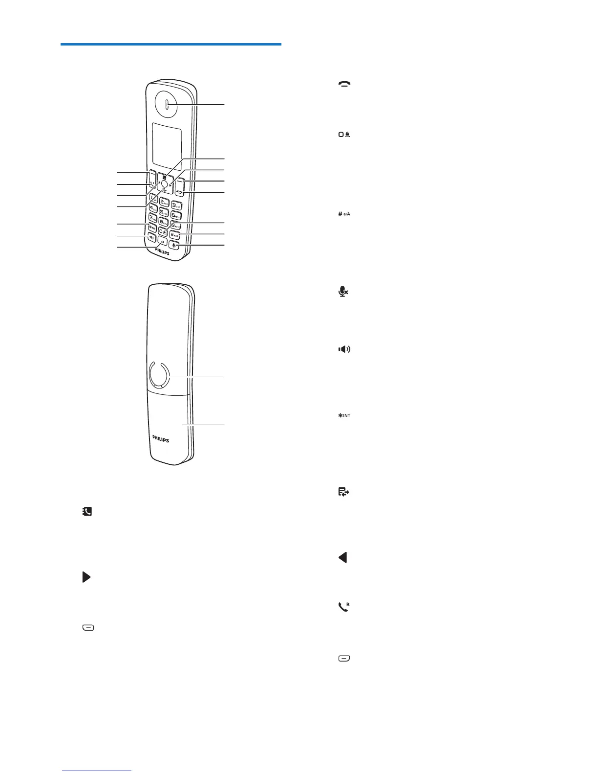
Overview of the phone
a Earpiece
b
Scroll up on the menu.
Increase the earpiece/speaker volume.
Access the contacts in standby mode.
c
Move the cursor to the right in editing
mode.
d
Press to delete individual text or digit.
Press and hold to remove all text.
Cancel operation.
Enter the redial list in standby mode.
Change the sound prole during a call.
a
d
e
c
b
h
g
f
i
j
k
m
n
l
o
p
q
Select the function displayed on the
handset screen directly above the key.
e
End the call.
Exit the menu/operation.
f
Press to enter a space during text
editing.
Press and hold to lock/unlock the
keypad in standby mode.
g
Press and hold to enter a pause when
editing the contact's name and number.
Switch to upper/lower case during
editing.
h
Mute or unmute the microphone.
i Microphone
j
Turn the speaker phone on/off.
Make and receive calls through the
speaker.
k
Press and hold to make an intercom
call (for multi-handset versions only).
Set the dial mode (pulse mode or
temporary tone mode).
l
Scroll down on the menu.
Decrease the earpiece/speaker volume.
Access the call log in standby mode.
m
Move the cursor to the left in editing
mode.
n
Make and receive calls.
Recall key
o
Access the main menu in standby
mode.
Conrm selection.

Table of Contents

Other manuals for Philips D605

Related product manuals